GM Service Manual Online
For 1990-2009 cars only
Makes
🢒
Buick
🢒
2000
🢒
Century
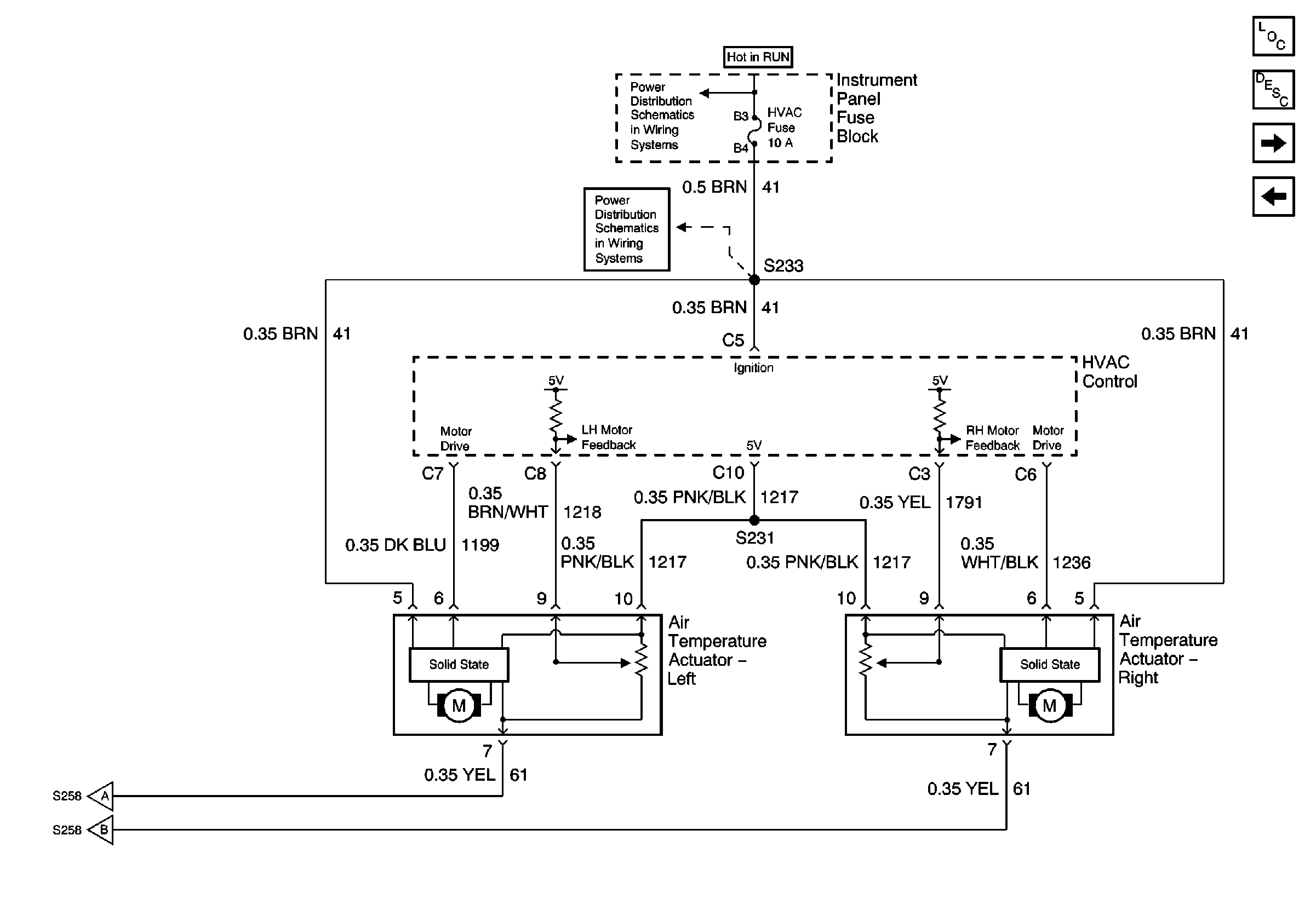
🢒 Temperature Actuators
Temperature Actuators
Temperature Actuators
HVAC Components
HVAC Air Delivery/Temperature Control Circuit Description
Vacuum Electric Solenoid
Air Temperature Sensors
Low Blower, Cruise, and HVAC Fuses
Low Blower, Cruise, and HVAC Fuses