GM Service Manual Online
For 1990-2009 cars only
Makes
🢒
Buick
🢒
2000
🢒
Century
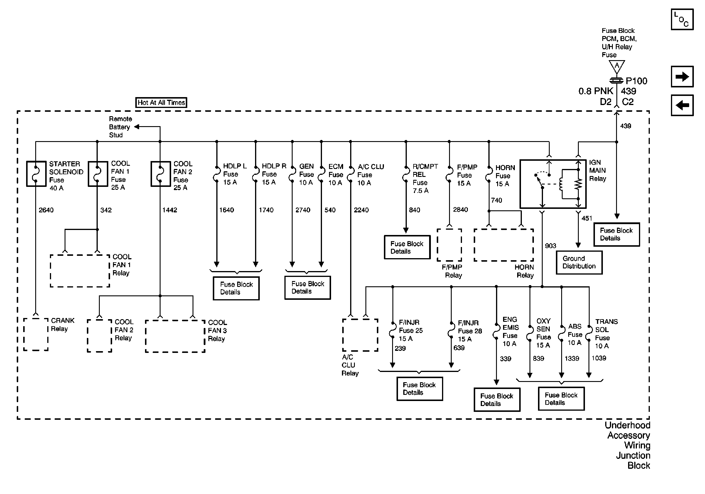
🢒 Engine MaxiFuses, Underhood Fuses and Ignition Main Relay
Engine MaxiFuses, Underhood Fuses and Ignition Main Relay
Engine MaxiFuses, Underhood Fuses and Ignition Main Relay
Power and Grounding Components
Parklamp and Headlamp Fuses
Ignition 2 MaxiFuse