GM Service Manual Online
For 1990-2009 cars only
Makes
🢒
Buick
🢒
2000
🢒
Century
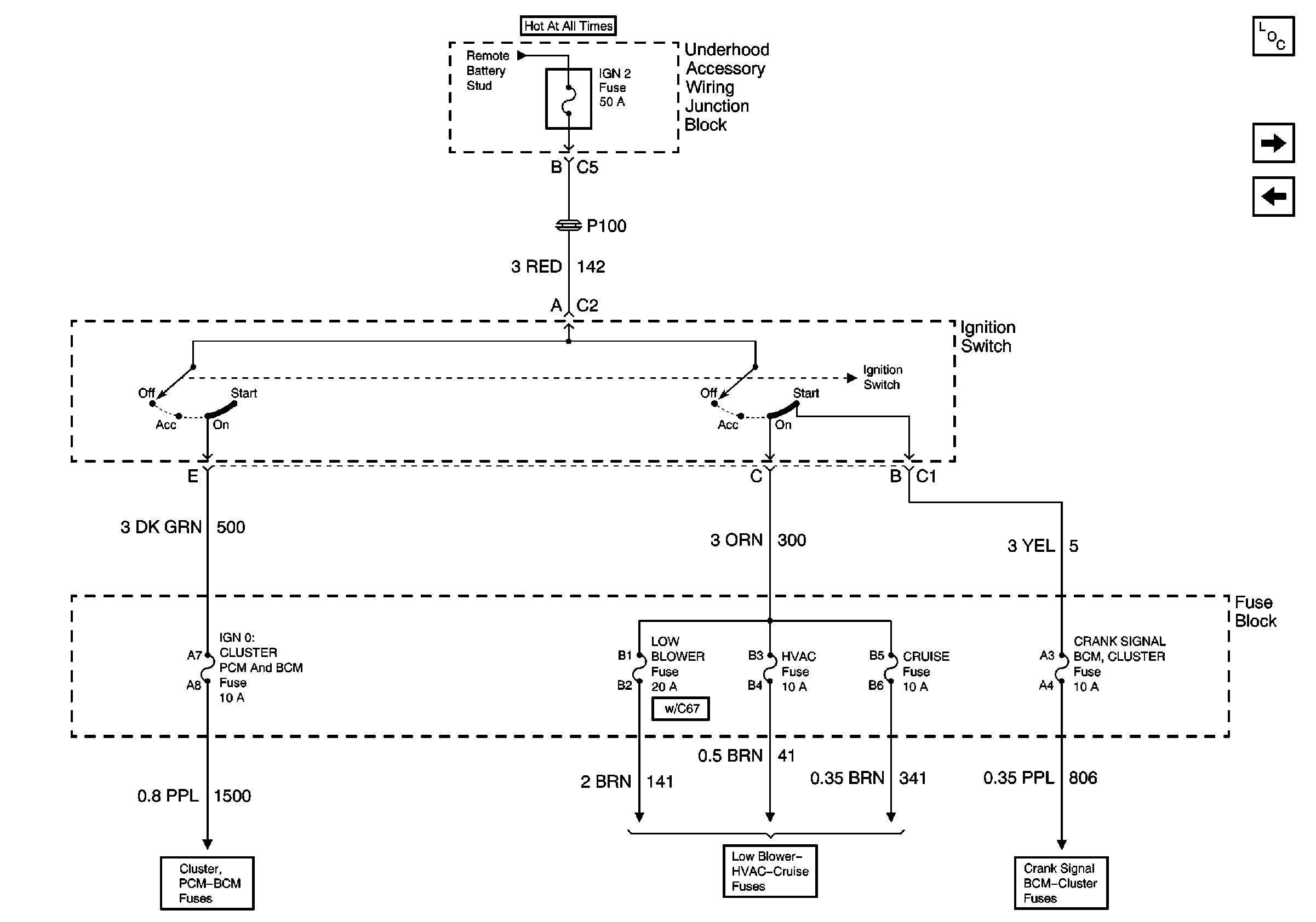
🢒 Ignition 2 MaxiFuse
Ignition 2 MaxiFuse
Ignition 2 MaxiFuse
Power and Grounding Components
Engine MaxiFuses, Underhood Fuses and Ignition Main Relay
Ignition 1 MaxiFuse and Ignition Switch