GM Service Manual Online
For 1990-2009 cars only
Makes
🢒
Buick
🢒
2000
🢒
Century
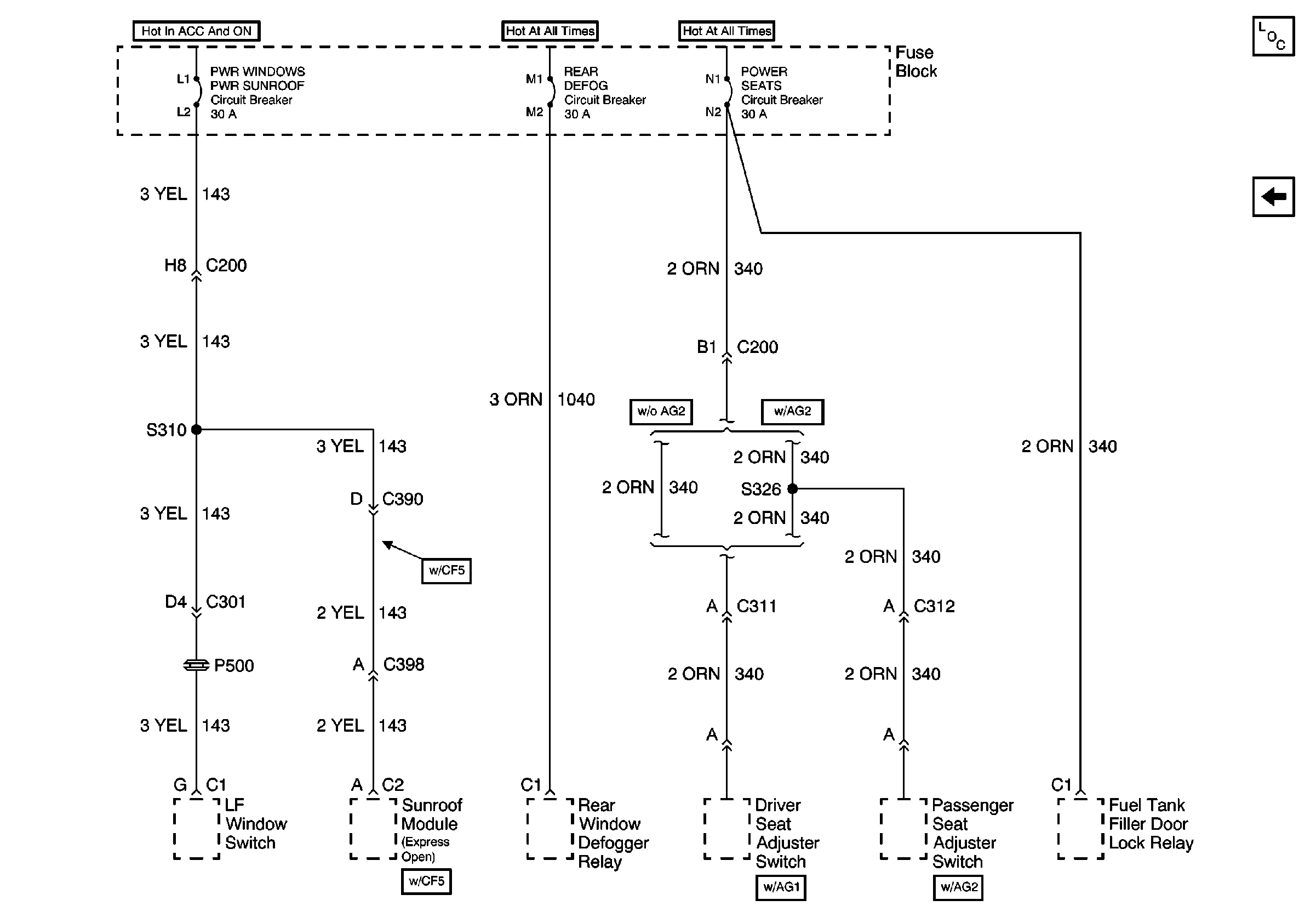
🢒 PWR Windows/Pwr Sunroof, Rear Defog and Power Seats Circuit Breakers
PWR Windows/Pwr Sunroof, Rear Defog and Power Seats Circuit Breakers
PWR Windows/Pwr Sunroof, Rear Defog and Power Seats Circuit Breakers
Power and Grounding Components
Deck Lid, Fuel door Release Relay
Wiper, Power Drop, Radio/Cruise and Red Strg Whl Illum Fuses