GM Service Manual Online
For 1990-2009 cars only
Makes
🢒
Buick
🢒
2000
🢒
Century
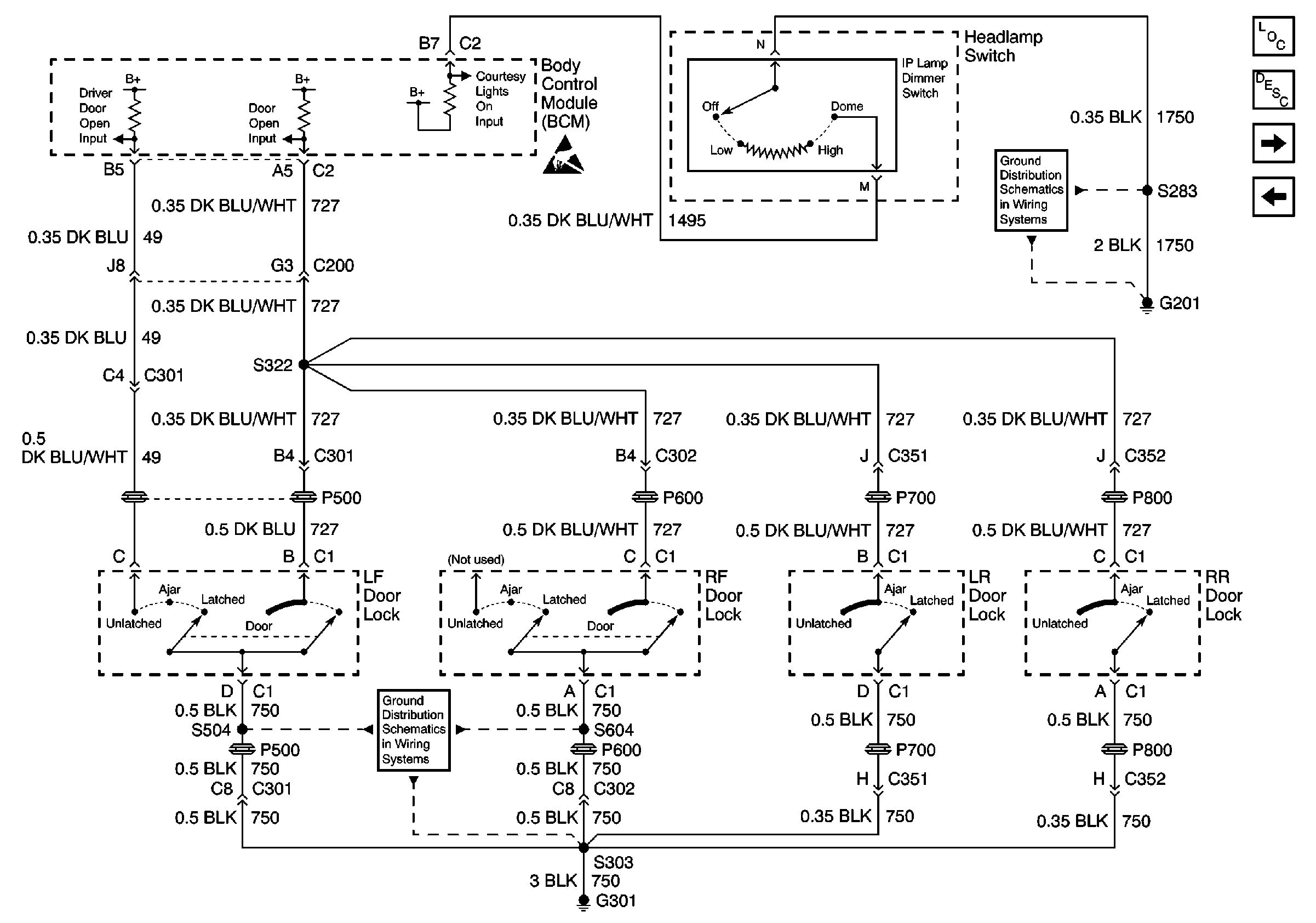
🢒 Headlamp Switch, BCM, and Door Lock Switches
Headlamp Switch, BCM, and Door Lock Switches
Headlamp Switch, BCM, and Door Lock Switchs
Handling ESD Sensitive Parts Notice
G301
G201
Lighting Systems Components
Interior Lights Circuit Description
Courtesy Lamps, BCM, IP Compartment Lamp Switch, Rear Compartment Lid Ajar Switch, and BCM
BCM and PCM