GM Service Manual Online
For 1990-2009 cars only
Makes
🢒
Buick
🢒
2000
🢒
Century
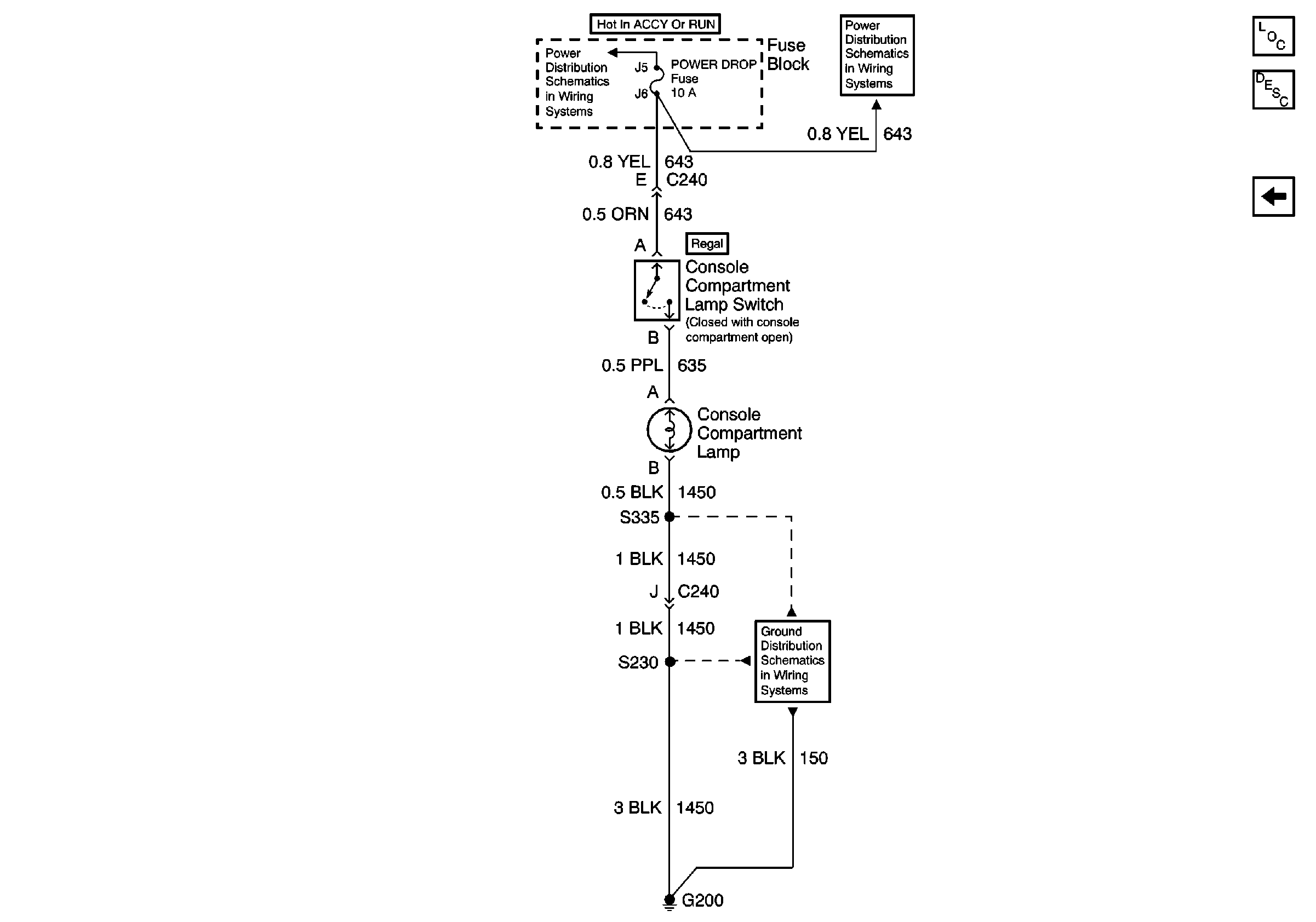
🢒 Console Compartment Lamp Switch and Console Compartment Lamp
Console Compartment Lamp Switch and Console Compartment Lamp
Console Compartment Lamp Switch and Console Compartment Lamp
UAWJB, RAP Relay, Ignition Switch, and Fuse Block
Wiper Fuse, BCM ACC, Power Drop, Radio and Steering Wheel Cont Fuses
G200
Lighting Systems Components
Interior Lights Circuit Description
Sunshade Mirror Lamp, Rear View Mirror, and Roof Rail Courtesy/Reading LAmp