GM Service Manual Online
For 1990-2009 cars only
Makes
🢒
Buick
🢒
2000
🢒
Century
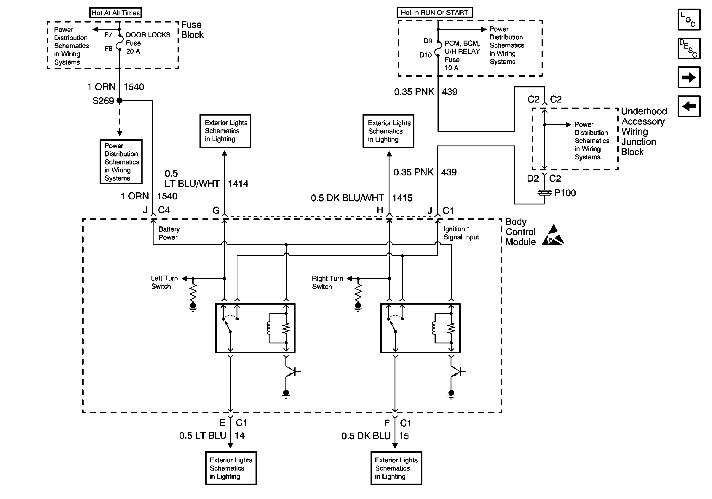
🢒 Turn Signal Inputs
Turn Signal Inputs
Turn Signal Inputs
Battery, UAWJB, Fuse Block, Headlamp Switch, Parklamp and Headlamp Relay
High Blower, Hazard, Stoplamps, Door Locks, Power Mirrors, and Heated Seats Fuses
BCM
BCM
BCM
BCM
UAWJB, Ignition Switch, and Fuse Block
Fuse Block, UAWJB, PCM, BCM, Cluster, Turn Signal Switch, and SDM Module
Handling ESD Sensitive Parts Notice
Body Control Module Components
Body Control System Circuit Description
IP Compartment Lamp Switch, Rear Compartment Lid Ajar Switch and Courtesy Lamps
Door Lock Inputs and Headlamp Switch Input