GM Service Manual Online
For 1990-2009 cars only
Makes
🢒
Buick
🢒
2001
🢒
Century
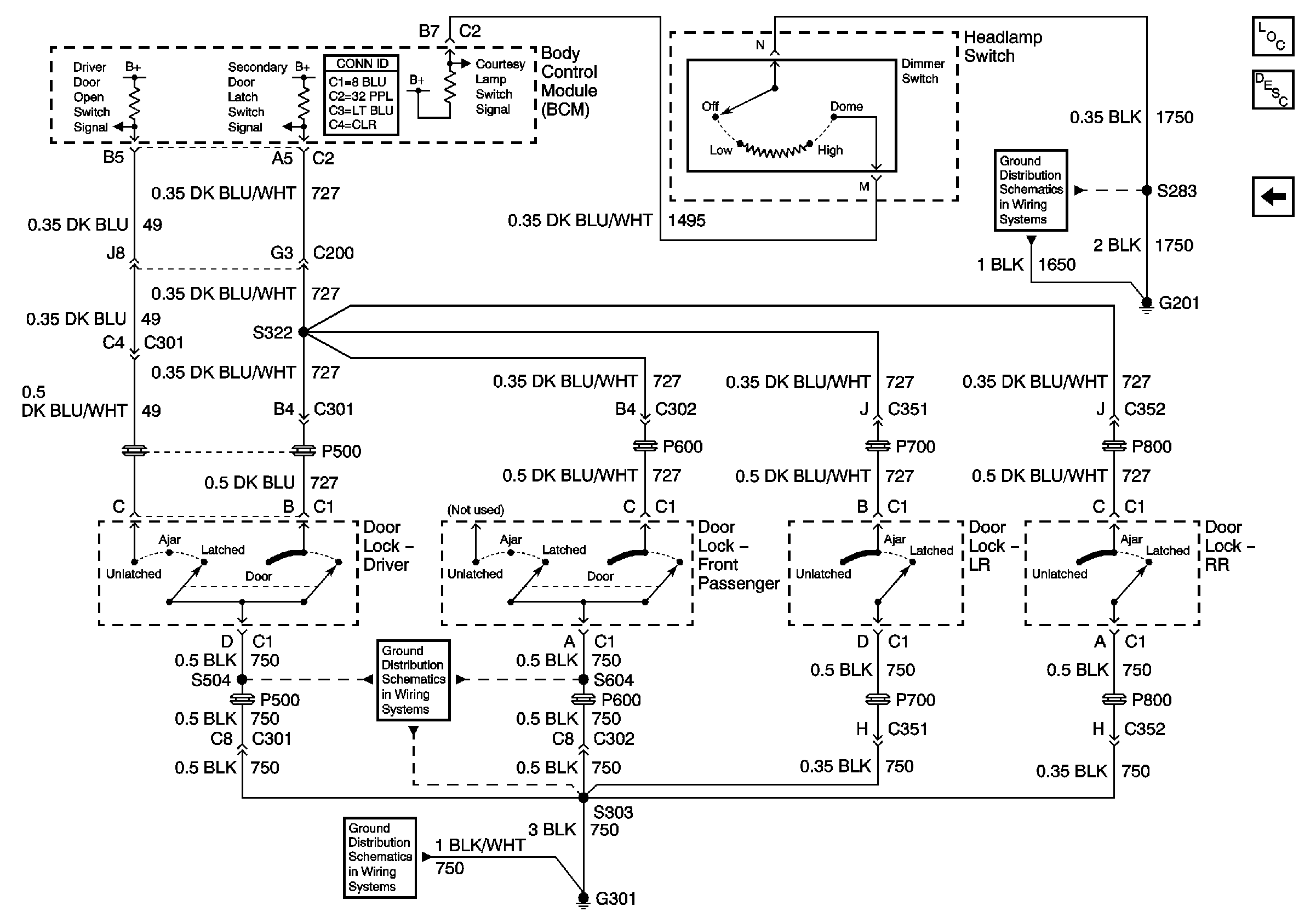
🢒 Dome Lamp Control
Dome Lamp Control
Dome Lamp Control
Master Electrical Component List
Interior Lighting Systems Description and Operation
Sunshade and Courtesy/Reading Lamps
G301, Page 1 of 2
G301, Page 1 of 2
G201