GM Service Manual Online
For 1990-2009 cars only
Makes
🢒
Buick
🢒
2004
🢒
Century
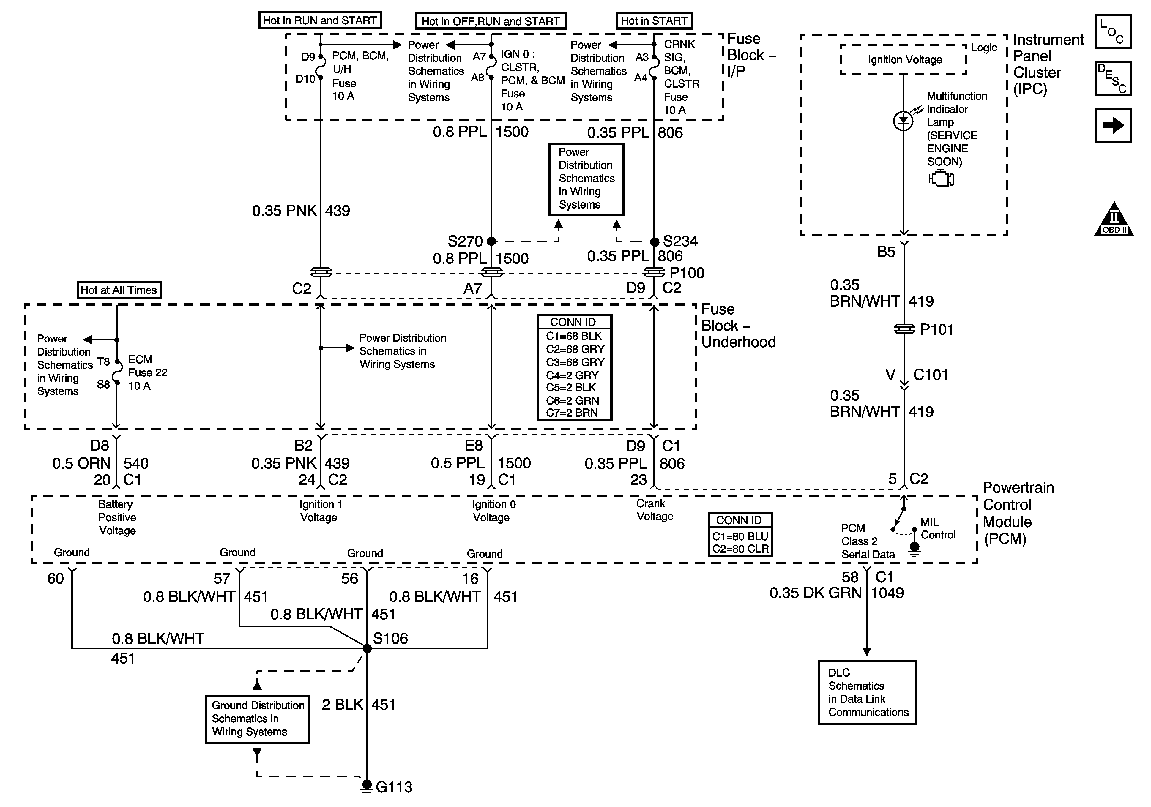
🢒 Power,Ground,MIL,and Serial Data
Power,Ground,MIL,and Serial Data
Power, Ground, MIL and Serial Data
Master Electrical Component List
Powertrain Control Module Description
Engine Data Sensors - 5 Volt Reference
OBD II Symbol Description Notice
Fuse Block - Underhood IGN 1 Fuse
Fuse Block - Underhood IGN 1 Fuse
Fuse Block - Underhood B+ Bus
Fuse Block - I/P TRN/SIG, AIR BAG, CLSTR, and PCM, BCM U/H Fuses, Fuse Block - Underhood CRANK and IGN MAIN Relays
G100, G113, and G171
Data Link Connector (DLC) Schematics