GM Service Manual Online
For 1990-2009 cars only
Makes
🢒
Buick
🢒
2004
🢒
Century
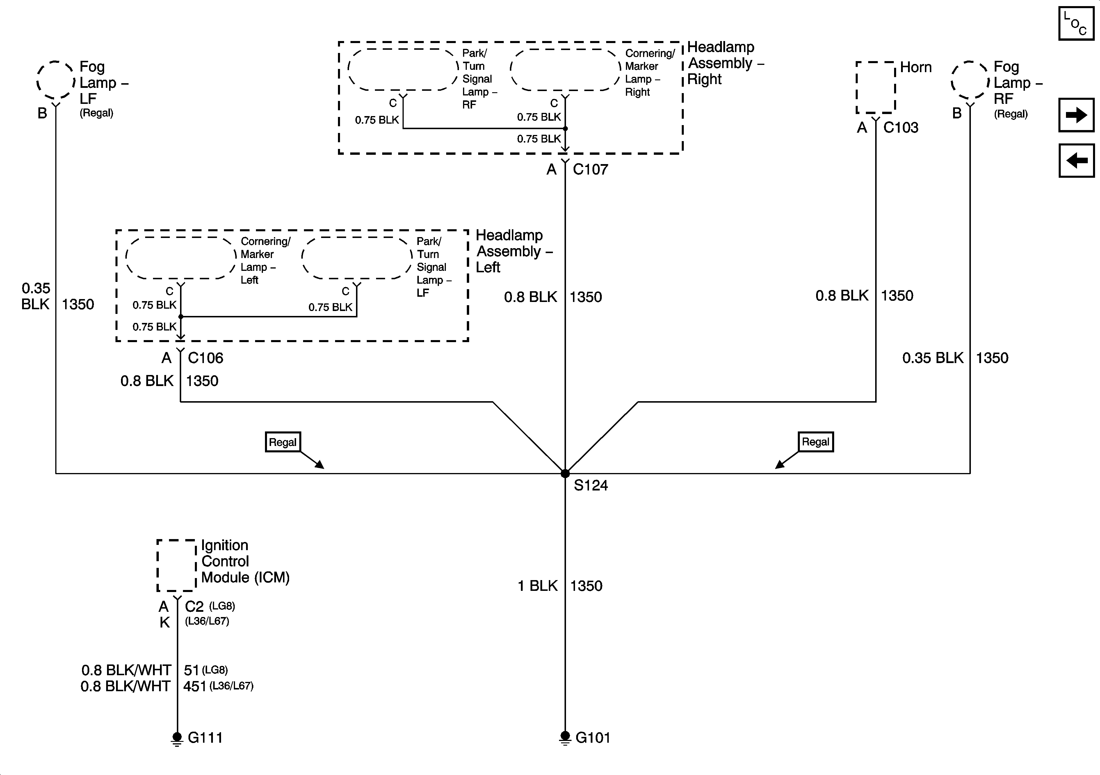
🢒 G101 and G111
G101 and G111
G101 and G111
Master Electrical Component List
G200, Page 1 of 2
G100, G113, and G171