GM Service Manual Online
For 1990-2009 cars only
Makes
🢒
Buick
🢒
2005
🢒
Century
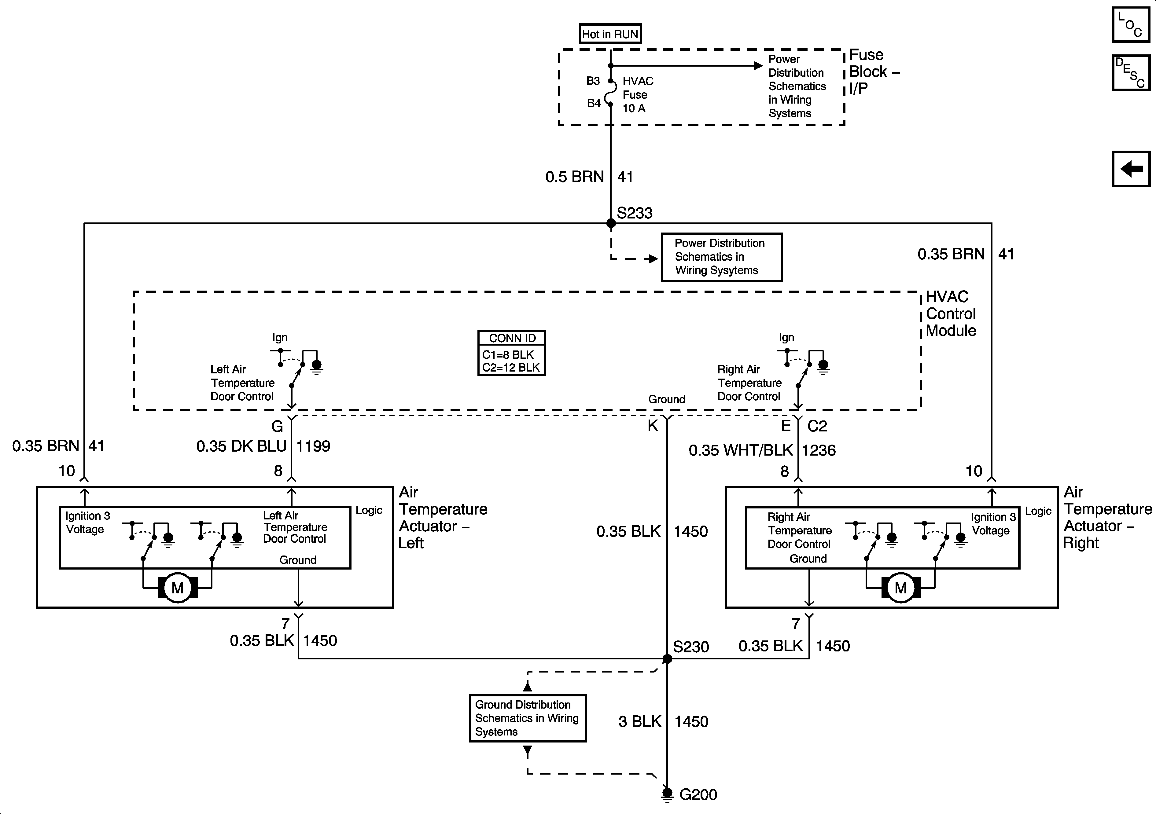
🢒 Temperature Actuators
Temperature Actuators
Temperature Actuators
Master Electrical Component List
Air Temperature Description and Operation
Compressor Controls
Fuse Block - I/P LOW BLWER, CRUISE, and HVAC Fuses
Fuse Block - I/P LOW BLWER, CRUISE, and HVAC Fuses
G200