GM Service Manual Online
For 1990-2009 cars only
Makes
🢒
Buick
🢒
2005
🢒
Century
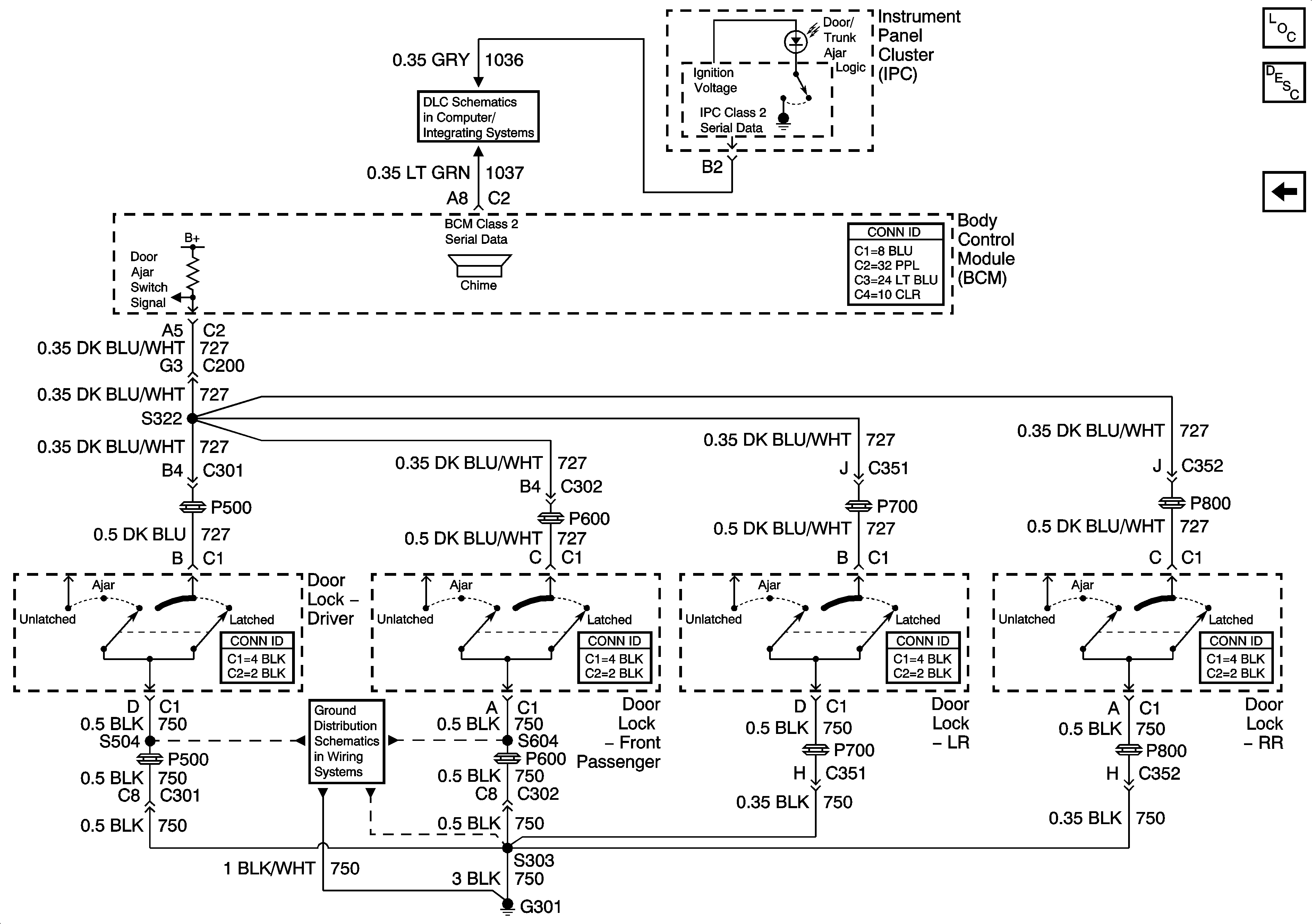
🢒 Ajar Indicator
Ajar Indicator
Ajar Indicator
Master Electrical Component List
Power Door Locks Description and Operation
Actuators
Data Link Connector (DLC) Schematics
G301, Page 1 of 2