GM Service Manual Online
For 1990-2009 cars only
Makes
🢒
Buick
🢒
1999
🢒
LeSabre
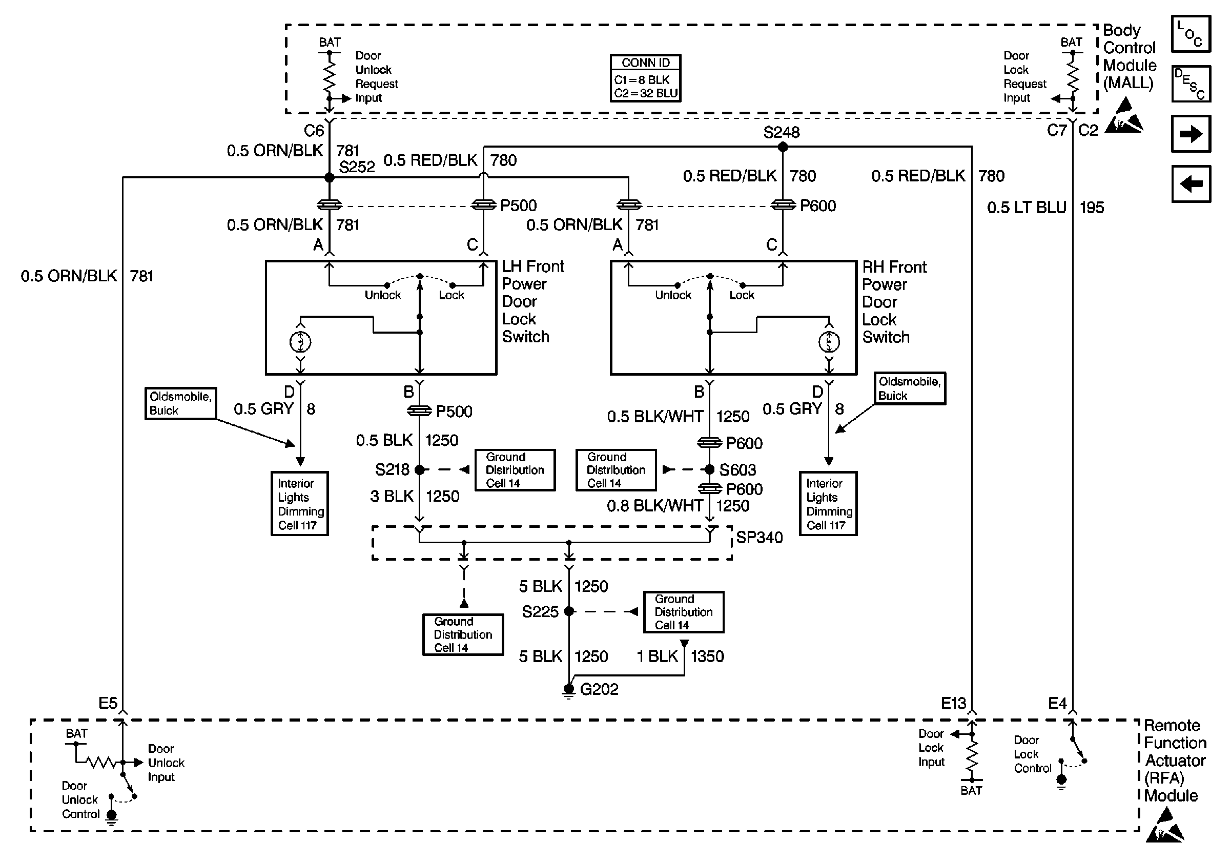
🢒 Cell 130: Door Locks With Keyless Entry - Buick, Oldsmobile
Cell 130: Door Locks With Keyless Entry - Buick, Oldsmobile
Cell 130: Door Locks With Keyless Entry - Buick, Oldsmobile
Power Door Systems Connector End Views
Cell 117: Instrument Cluster and Front Door Incandescent Dimming
Cell 14: G202
Cell 117: Instrument Cluster and Front Door Incandescent Dimming
Handling ESD Sensitive Parts Notice
Handling ESD Sensitive Parts Notice
Power Door Systems Components
Power Door Locks Circuit Description
Cell 130: Door Locks With Keyless Entry - Buick, Oldsmobile, Pontiac Without UA6
Cell 130: Door Locks Without Keyless Entry, Door Lock Actuators
Cell 14: G202 Continued
Cell 14: G202 Continued
Cell 14: G202 Continued
Cell 14: G202 Continued