GM Service Manual Online
For 1990-2009 cars only
Makes
🢒
Buick
🢒
1999
🢒
LeSabre
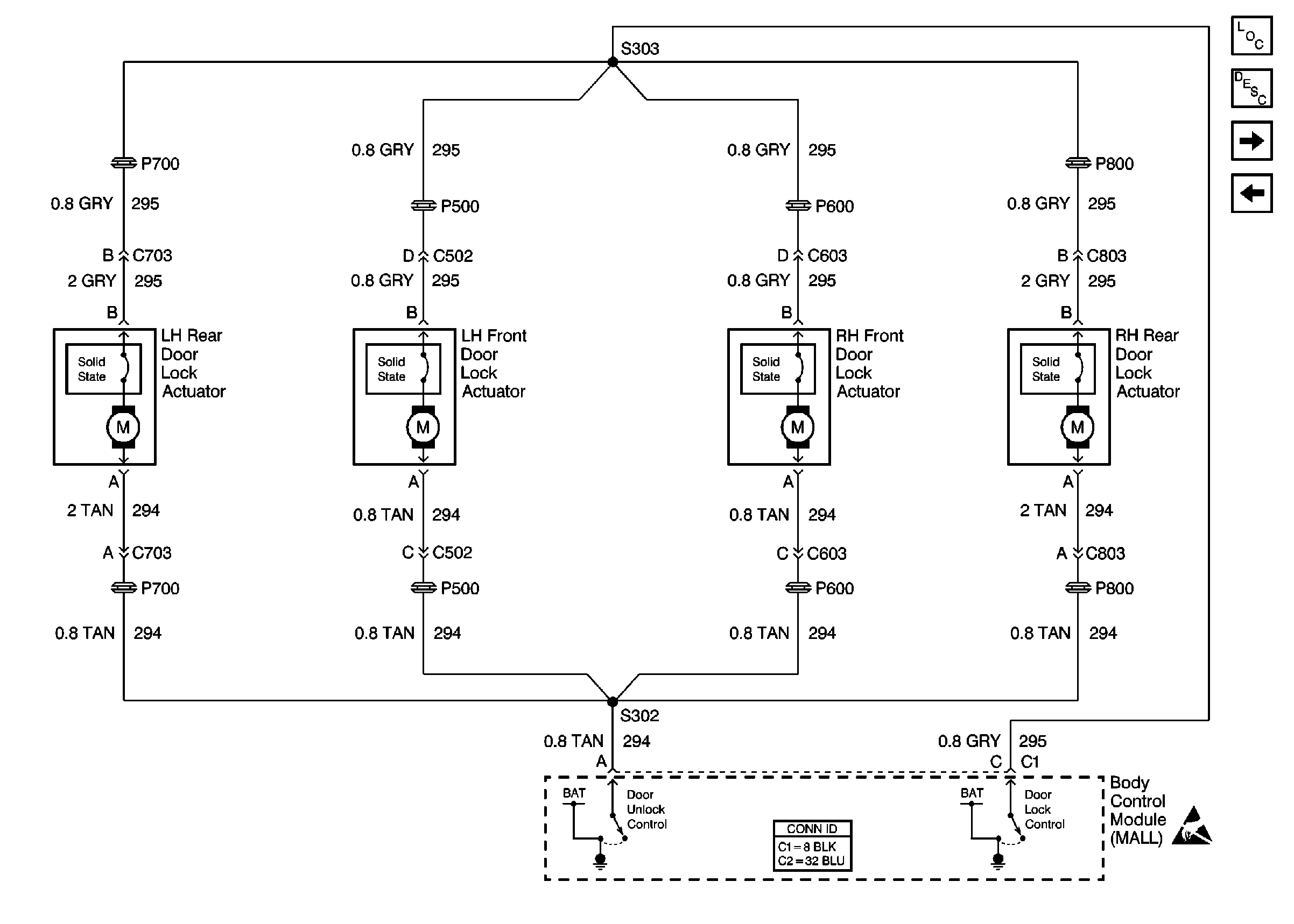
🢒 Cell 130: Door Locks Without Keyless Entry, Door Lock Actuators
Cell 130: Door Locks Without Keyless Entry, Door Lock Actuators
Cell 130: Door Locks Without Keyless Entry, Door Lock Actuators
Power Door Systems Connector End Views
Handling ESD Sensitive Parts Notice
Power Door Systems Components
Power Door Locks Circuit Description
Cell 130: Door Locks without Keyless Entry, Power Distribution
Cell 130: Door Locks Without Keyless Entry, Door Lock Switches