GM Service Manual Online
For 1990-2009 cars only
Makes
🢒
Buick
🢒
2000
🢒
LeSabre
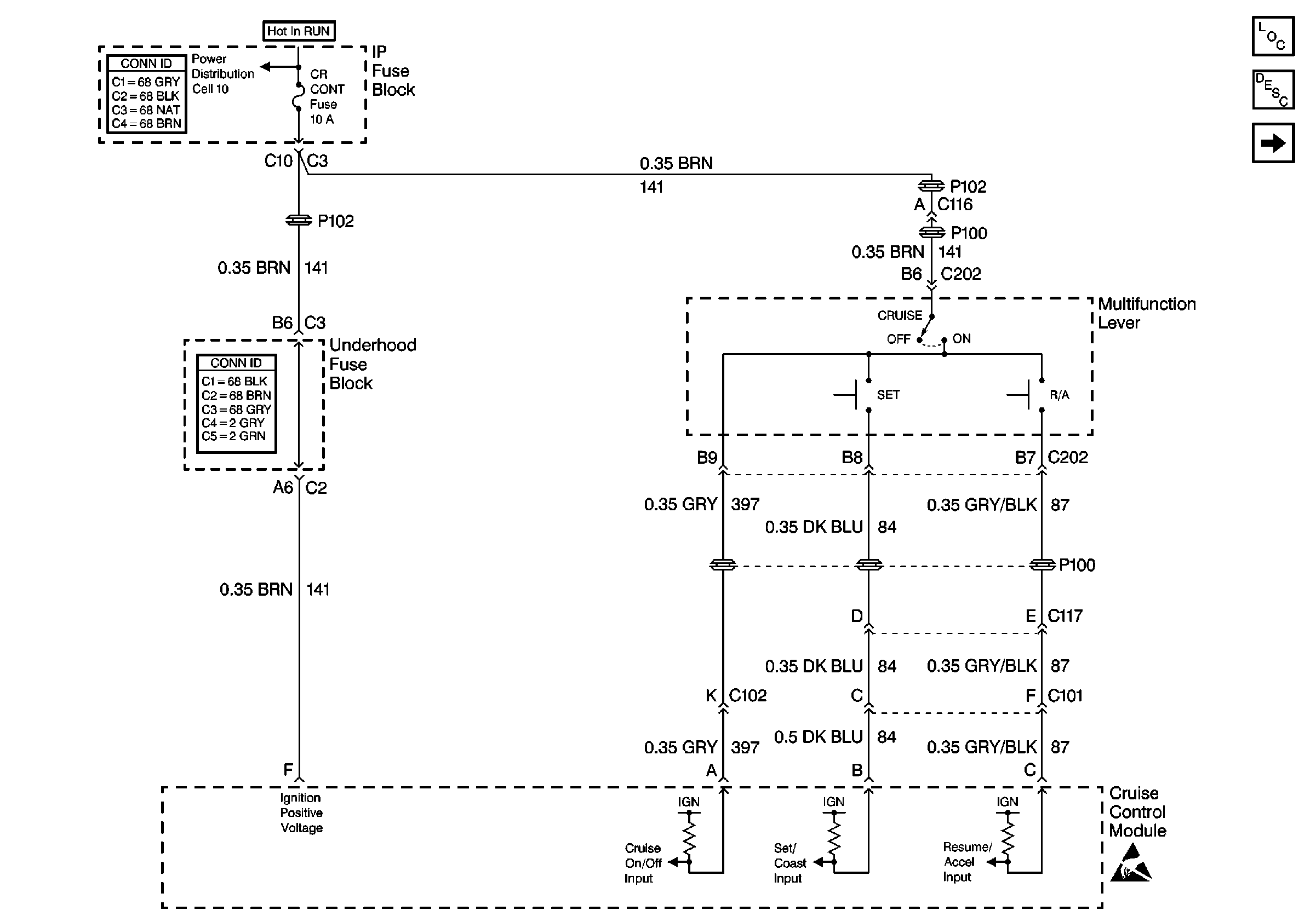
🢒 Cell 34: Multifunction Lever
Cell 34: Multifunction Lever
Cell 34: Multifunction Lever
Cruise Control Components
Cruise Control System Circuit Description
Cell 34: ABS/TCC Switch
Handling ESD Sensitive Parts Notice