GM Service Manual Online
For 1990-2009 cars only
Makes
🢒
Buick
🢒
2000
🢒
LeSabre
🢒 Cell 34: Stoplamp Switch
Cell 34: Stoplamp Switch
Cell 34: Stoplamp Switch
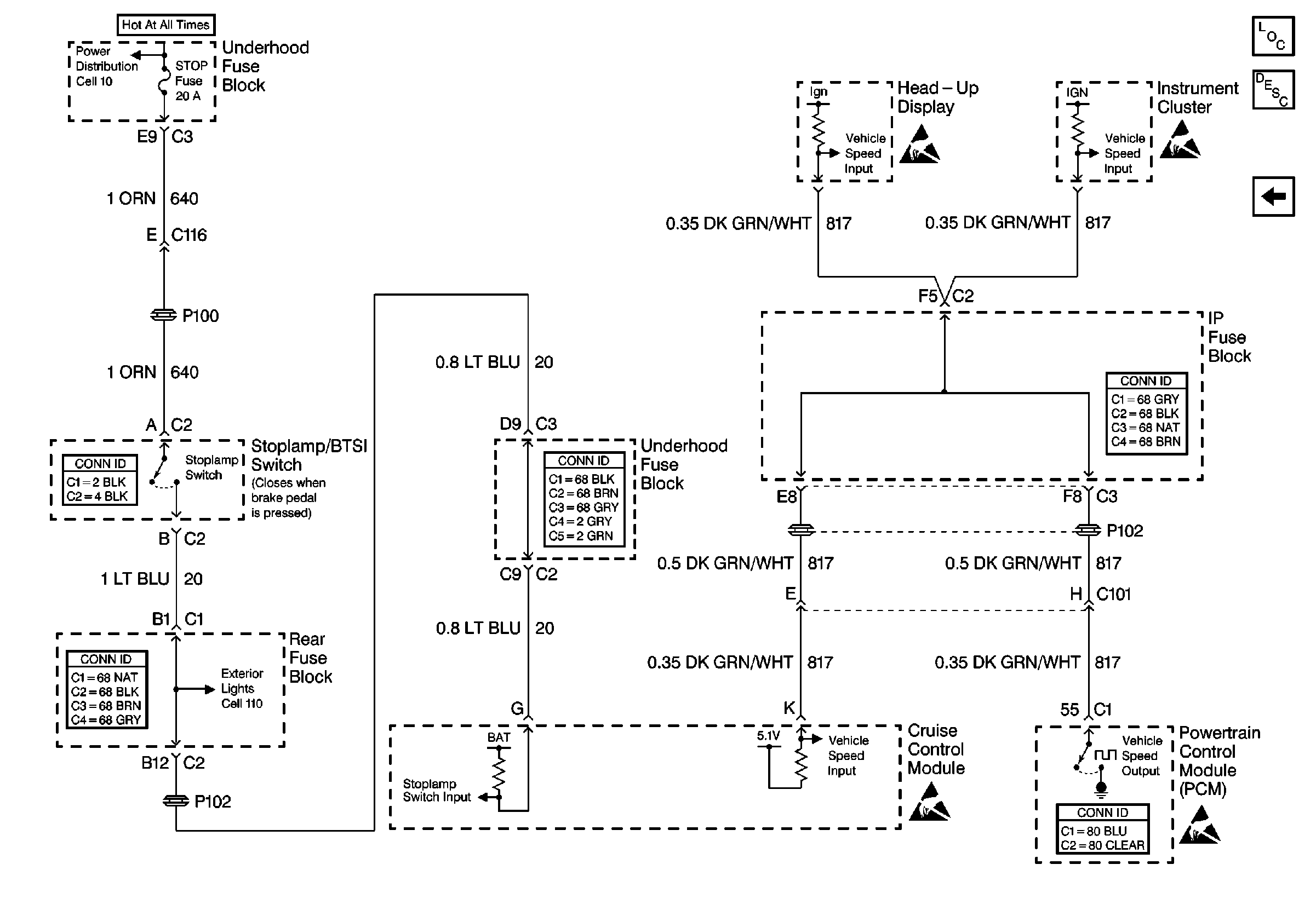
Cruise Control Components
Cruise Control System Circuit Description
Cell 34: ABS/TCC Switch
Handling ESD Sensitive Parts Notice
Handling ESD Sensitive Parts Notice
Handling ESD Sensitive Parts Notice
Handling ESD Sensitive Parts Notice
Cell 10: LP PK, HZDT/SG, Stop, and B/U LP Fuses
Powertrain Control Module Connector End Views