GM Service Manual Online
For 1990-2009 cars only
Makes
🢒
Buick
🢒
2000
🢒
LeSabre
🢒 Backup Lamps
Backup Lamps
Lighting Systems Components
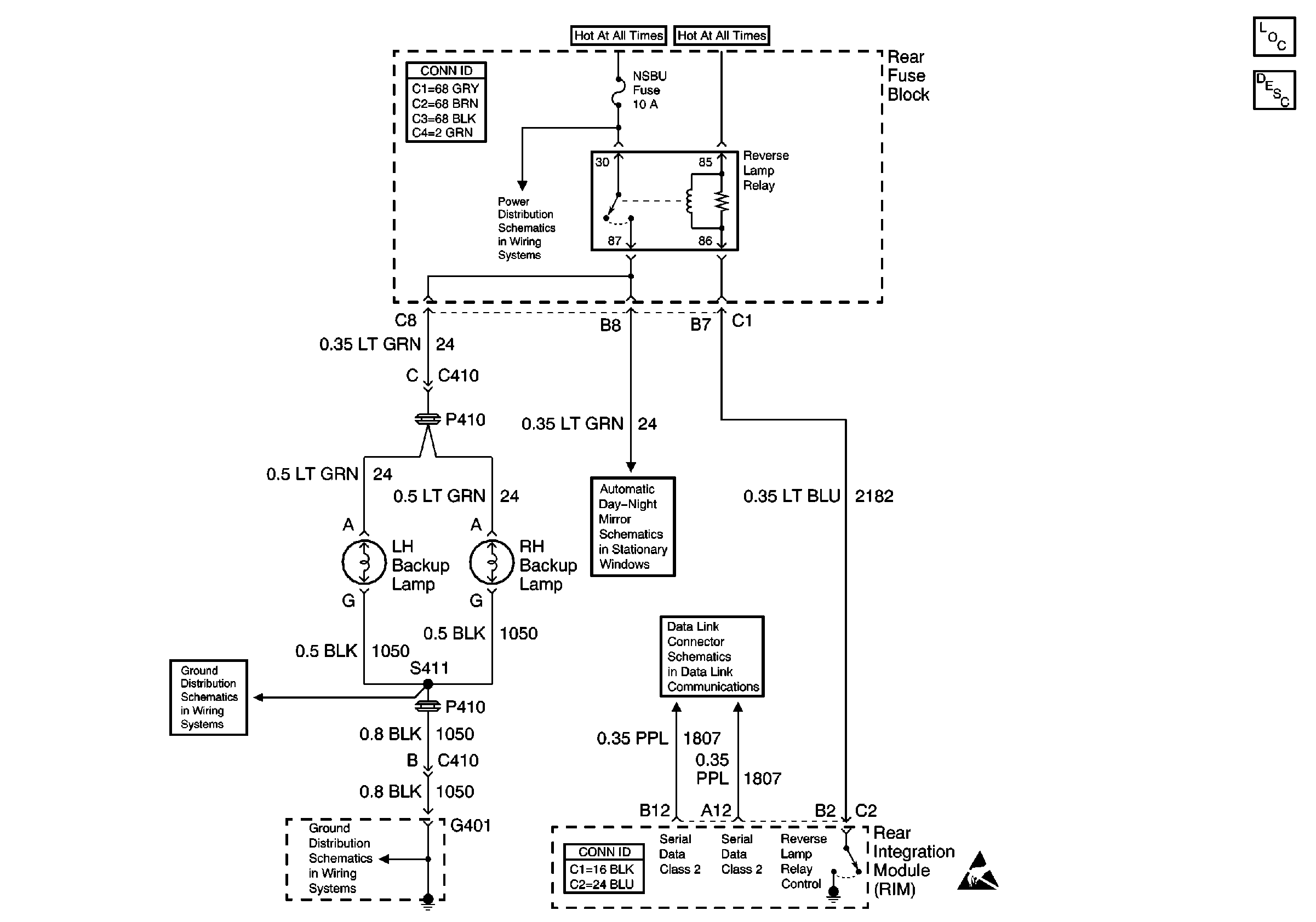
Backup Lamp Circuit Description
RH Mirrors
Serial Data Class 2
G401 (1 of 2)
G401 (1 of 2)
Handling ESD Sensitive Parts Notice
Battery Feed to the Rear Fuse Block