GM Service Manual Online
For 1990-2009 cars only
Makes
🢒
Buick
🢒
2000
🢒
LeSabre
🢒 Vertical and Horizontal Motors and Sensors
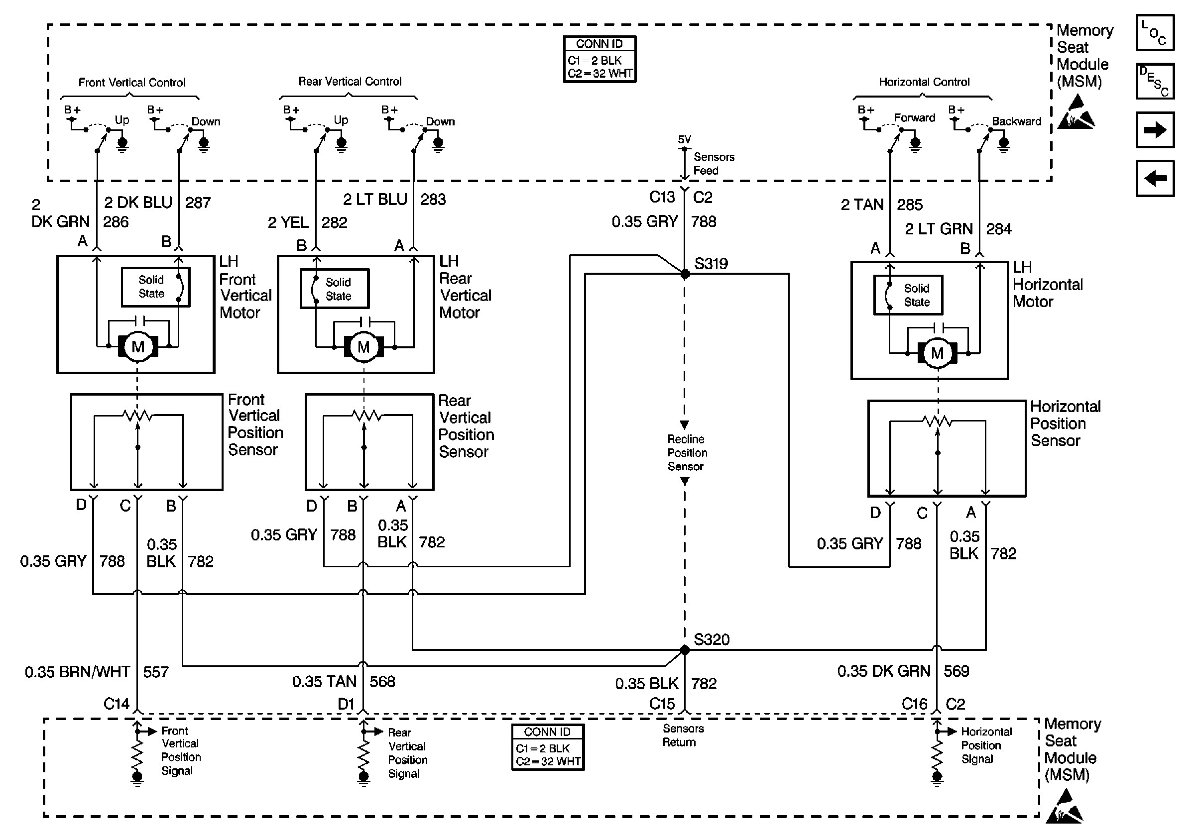
Vertical and Horizontal Motors and Sensors
Vertical and Horizontal Motors and Sensors
Handling ESD Sensitive Parts Notice
Handling ESD Sensitive Parts Notice
Power Seat Systems Components
Memory Seat Circuit Description
Recline Motor and Sensor
Power, Ground, LH Seat Switch and MSM