GM Service Manual Online
For 1990-2009 cars only
Makes
🢒
Buick
🢒
2000
🢒
LeSabre
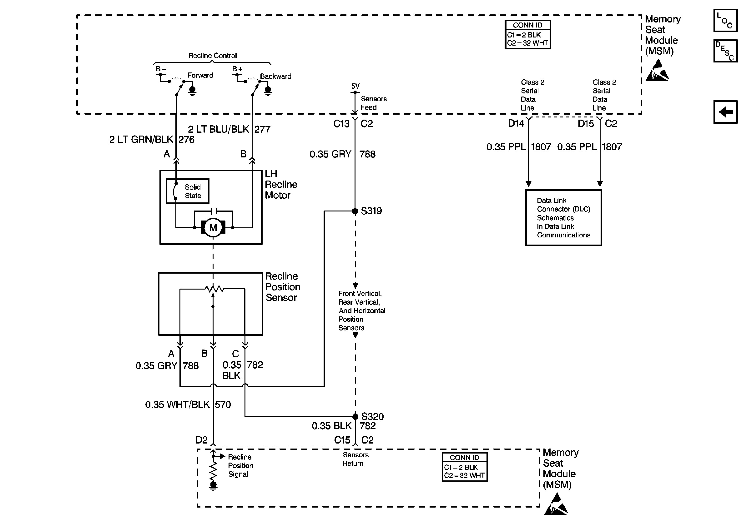
🢒 Recline Motor and Sensor
Recline Motor and Sensor
Recline Motor and Sensor
Power Seat Systems Components
Memory Seat Circuit Description
Vertical and Horizontal Motors and Sensors
Handling ESD Sensitive Parts Notice
Serial Data Class 2
Handling ESD Sensitive Parts Notice