GM Service Manual Online
For 1990-2009 cars only
Makes
🢒
Buick
🢒
2000
🢒
LeSabre
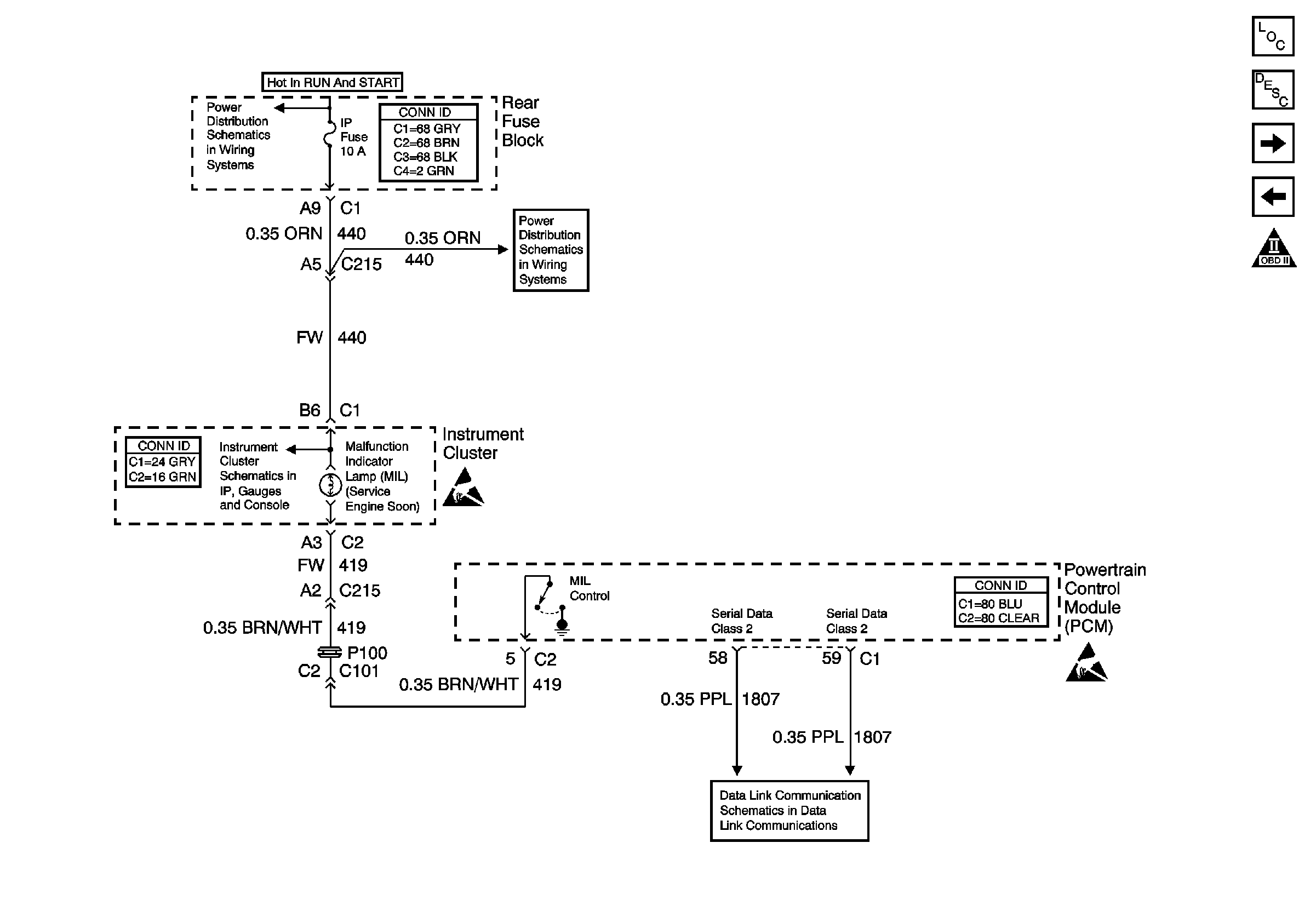
🢒 MIL, Data Link Feed
MIL, Data Link Feed
MIL, Data Link Feed
Engine Controls Components
Information Sensors/Switches Description
IC Module, CMP and CKP Sensors
IGN Switch, PCM Feeds
IP, CIGAR, AUX PWR, and C/LTR Fuses and CIGAR Relay
IP, CIGAR, AUX PWR, and C/LTR Fuses and CIGAR Relay
PCM, IPC, Inputs
Handling ESD Sensitive Parts Notice
Handling ESD Sensitive Parts Notice
Serial Data Class 2