GM Service Manual Online
For 1990-2009 cars only
Makes
🢒
Buick
🢒
2000
🢒
LeSabre
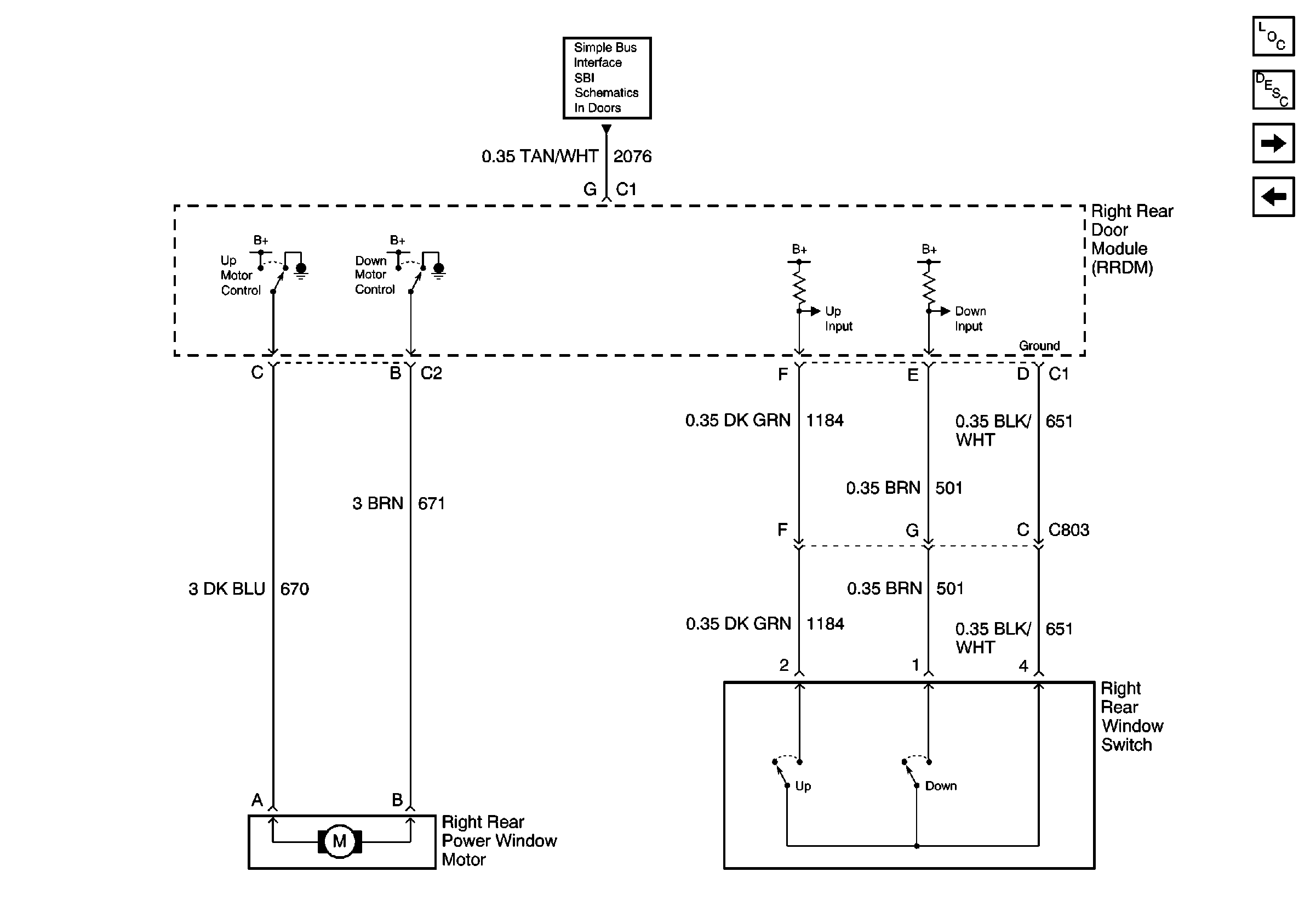
🢒 RH Rear Door
RH Rear Door
RH Rear Door
Power Door Systems Components
LH Front Door
LH Rear Door
Simple Bus Interface