GM Service Manual Online
For 1990-2009 cars only
Makes
🢒
Buick
🢒
2000
🢒
LeSabre
🢒 Cigar Lighter/Auxiliary Outlets Schematics
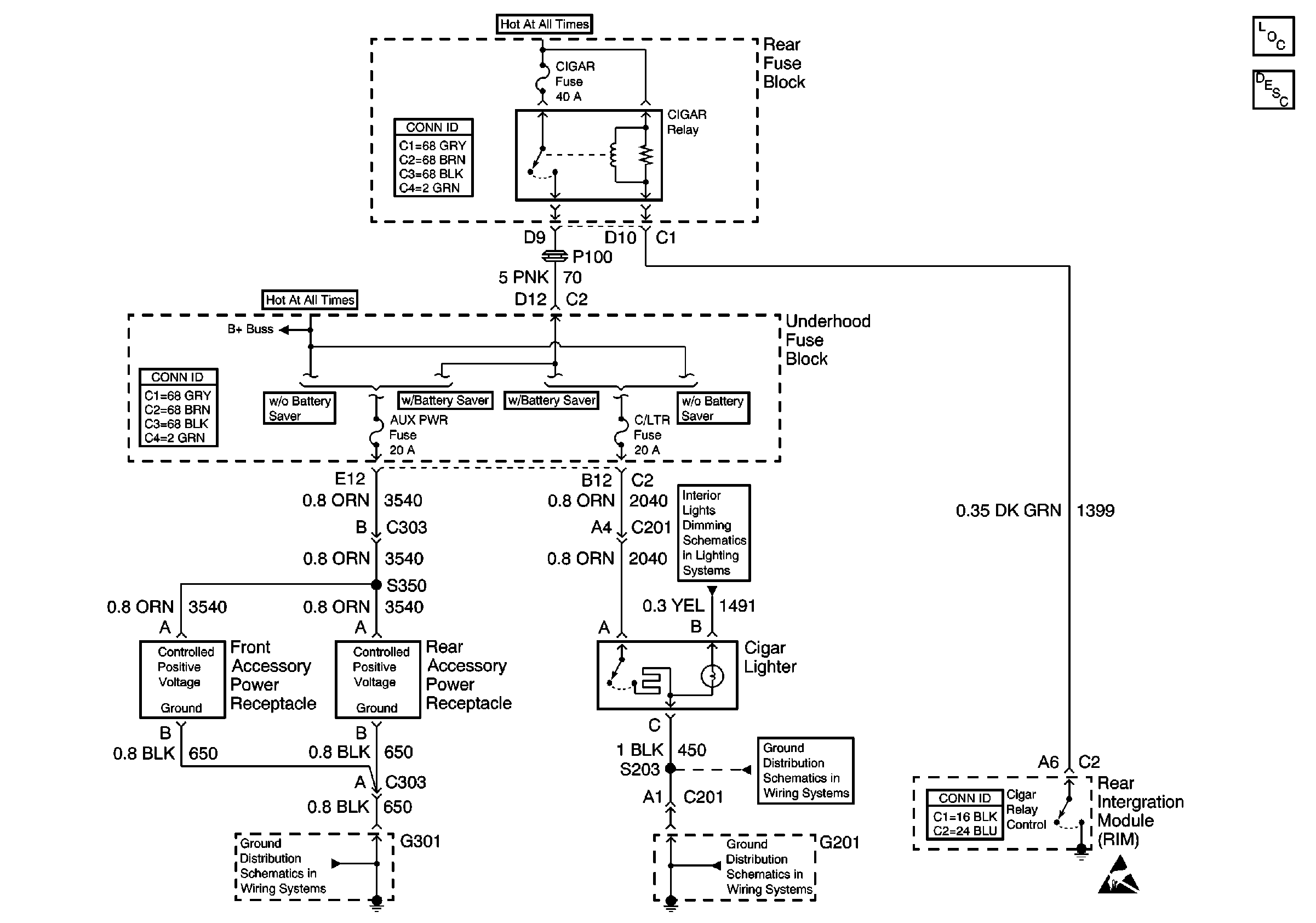
Cigar Lighter/Auxiliary Outlets Schematics
Power and Grounding Components
Cigar Lighter/Auxiliary Outlet Circuit Description
Instrument Panel and Console Dimming
G300 and G301 (3 of 3)
G201
G201