GM Service Manual Online
For 1990-2009 cars only
Makes
🢒
Buick
🢒
2000
🢒
LeSabre
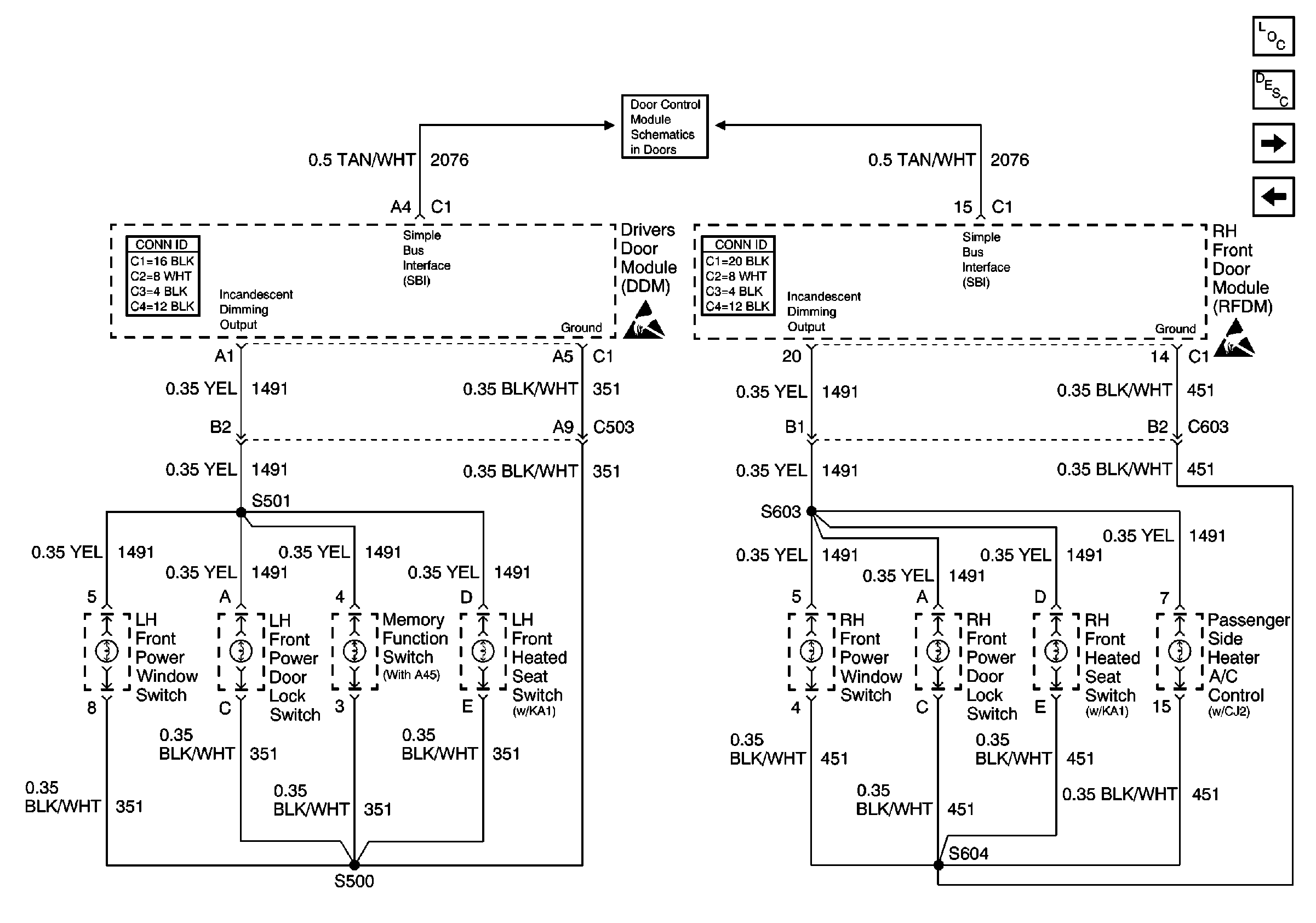
🢒 Front Door Dimming
Front Door Dimming
Front Door Dimming
Simple Bus Interface
Handling ESD Sensitive Parts Notice
Handling ESD Sensitive Parts Notice
Lighting Systems Components
Interior Lights Dimming Circuit Description
Steering Column Dimming
Instrument Panel and Console Dimming