GM Service Manual Online
For 1990-2009 cars only
Makes
🢒
Buick
🢒
2000
🢒
LeSabre
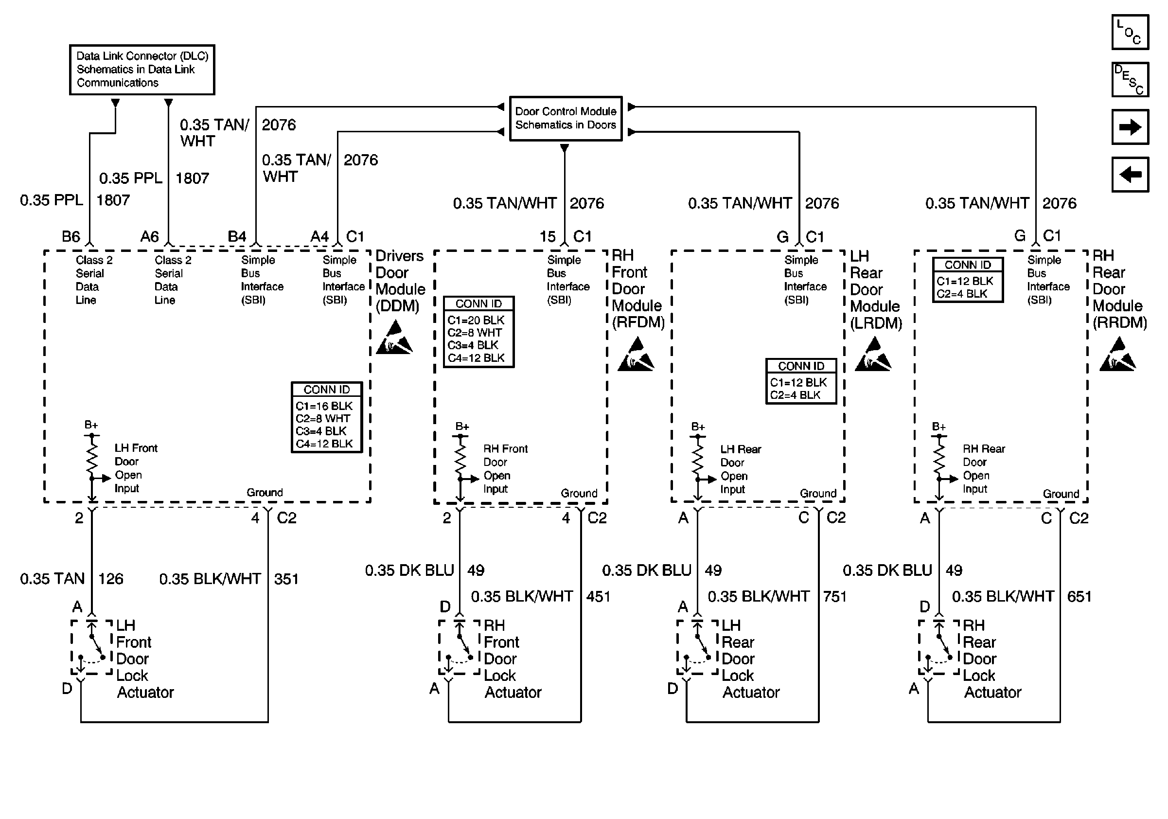
🢒 Door Jamb Switches
Door Jamb Switches
Door Jamb Switches
Serial Data Class 2
Simple Bus Interface
Handling ESD Sensitive Parts Notice
Handling ESD Sensitive Parts Notice
Handling ESD Sensitive Parts Notice
Handling ESD Sensitive Parts Notice
Lighting Systems Components
Interior Lights Circuit Description
LH Courtesy Lamps
Interior Lamp Relay