GM Service Manual Online
For 1990-2009 cars only
Makes
🢒
Buick
🢒
2000
🢒
LeSabre
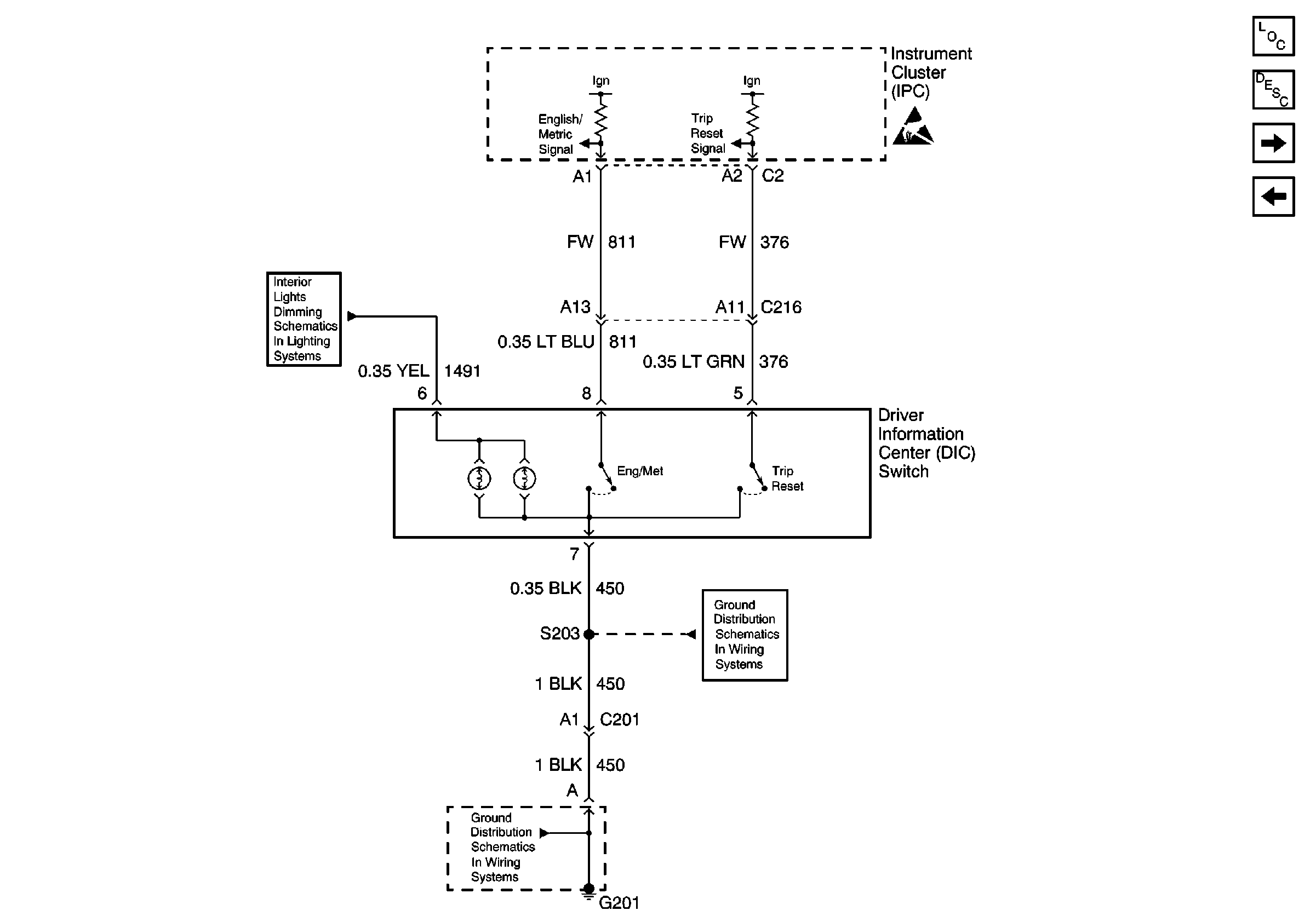
🢒 DIC Switch ( w/U2E )
DIC Switch ( w/U2E )
DIC Switch ( w/U2E )
Instrument Cluster and HUD Components
Driver Information Center (DIC) or Message Center Description
DIC Switch ( w/UB7 )
Coolant, Brake, Washer Inputs
Handling ESD Sensitive Parts Notice
G201
G103
220 Cell 83: Head Up Display