GM Service Manual Online
For 1990-2009 cars only
Makes
🢒
Buick
🢒
2000
🢒
LeSabre
🢒 Power, Ground, and Components
Power, Ground, and Components
Power, Ground, and Components
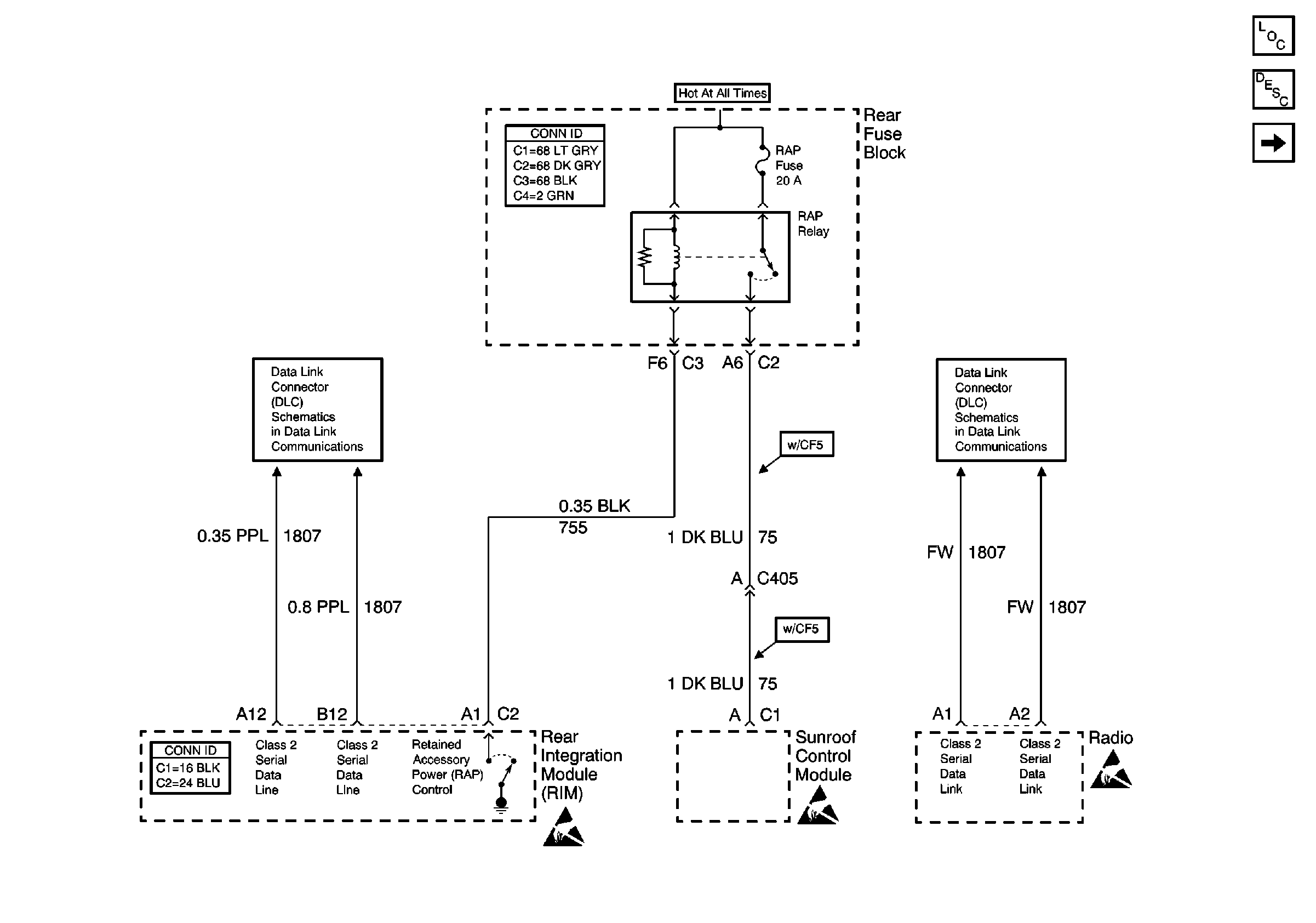
Retained Accessory Power (RAP) Components
Retained Accessory Power (RAP) Circuit Description
Door Jamb Switches
Handling ESD Sensitive Parts Notice
Serial Data Class 2
Serial Data Class 2