GM Service Manual Online
For 1990-2009 cars only
Makes
🢒
Buick
🢒
2000
🢒
LeSabre
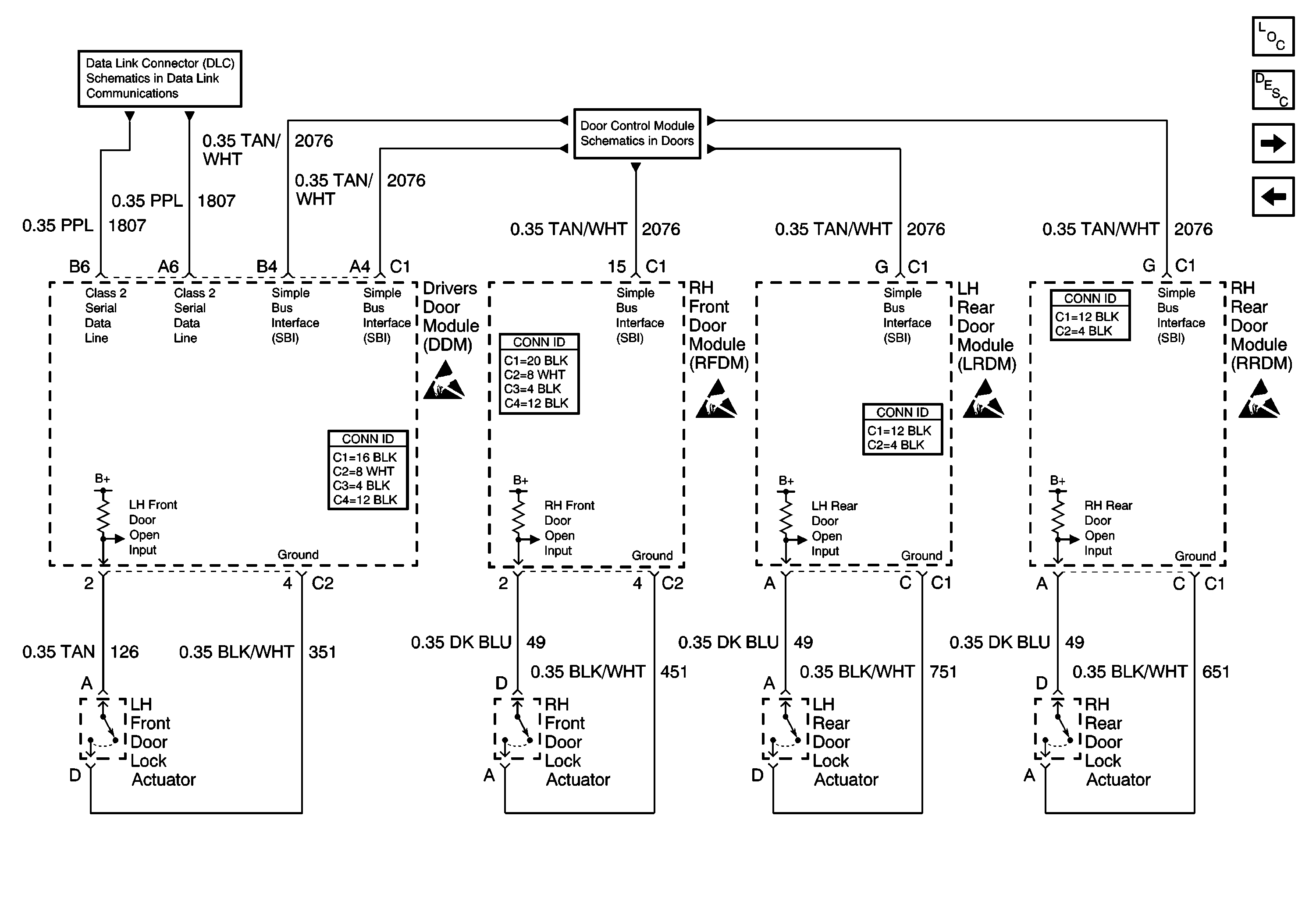
🢒 Door Jamb Switches
Door Jamb Switches
Door Jamb Switches
Serial Data Class 2
Simple Bus Interface
Handling ESD Sensitive Parts Notice
Handling ESD Sensitive Parts Notice
Handling ESD Sensitive Parts Notice
Handling ESD Sensitive Parts Notice
Retained Accessory Power (RAP) Components
Retained Accessory Power (RAP) Circuit Description
DIM Inputs
Power, Ground, and Components