GM Service Manual Online
For 1990-2009 cars only
Makes
🢒
Buick
🢒
2000
🢒
LeSabre
🢒 DIM Inputs
DIM Inputs
DIM Inputs
Retained Accessory Power (RAP) Components
Retained Accessory Power (RAP) Circuit Description
Door Jamb Switches
Handling ESD Sensitive Parts Notice
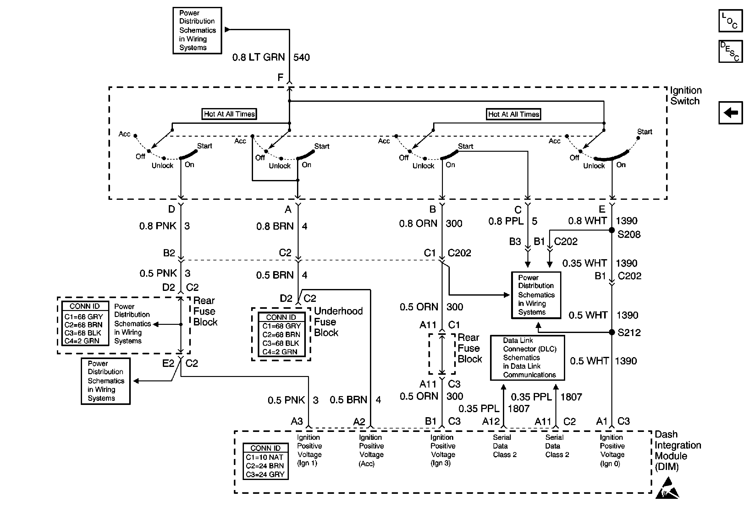
Ignition Switch (2 of 2)
Ignition Switch (2 of 2)
PARK and REVERSE Relay, NSBU and IGN SW Fuses (Rear Fuse Block)
Ignition Switch (1 of 2)
Serial Data Class 2