GM Service Manual Online
For 1990-2009 cars only
Makes
🢒
Buick
🢒
2000
🢒
LeSabre
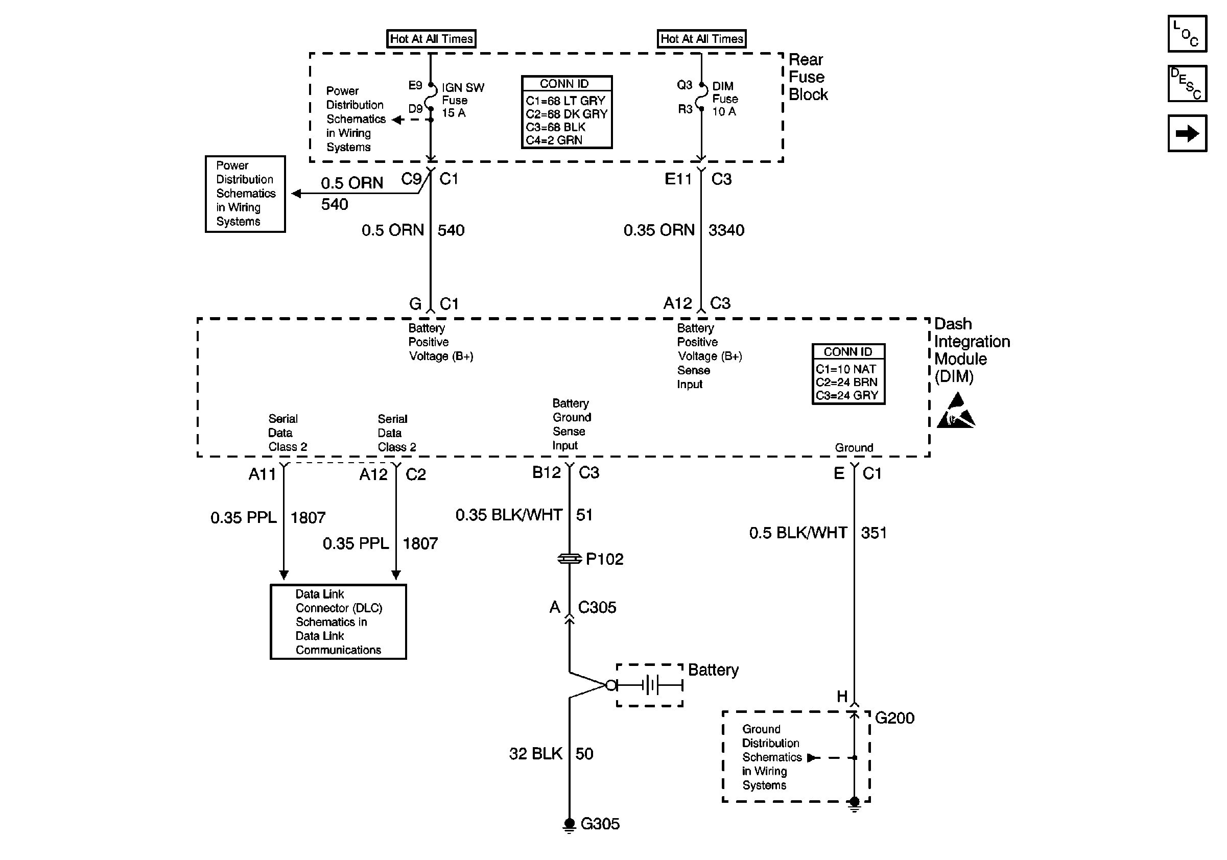
🢒 DIM Power and Grounds
DIM Power and Grounds
DIM Power and Grounds
PARK and REVERSE Relay, NSBU and IGN SW Fuses (Rear Fuse Block)
PARK and REVERSE Relay, NSBU and IGN SW Fuses (Rear Fuse Block)
Serial Data Class 2
G200 (1 of 3)
Handling ESD Sensitive Parts Notice
Body Control Module Components
Body Control System Circuit Description
DIM Ignition Inputs