GM Service Manual Online
For 1990-2009 cars only
Makes
🢒
Buick
🢒
2000
🢒
LeSabre
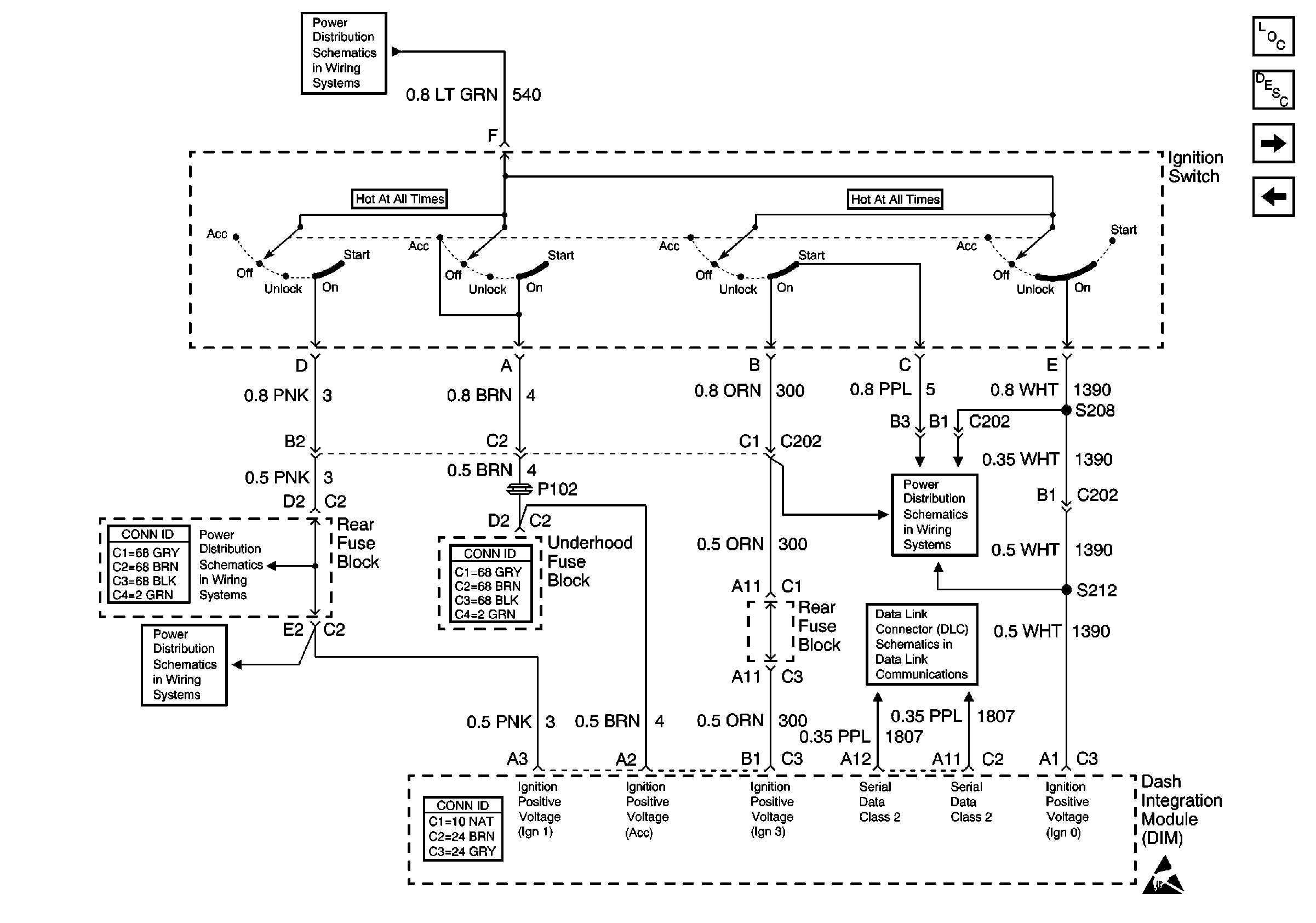
🢒 DIM Ignition Inputs
DIM Ignition Inputs
DIM Ignition Inputs
PARK and REVERSE Relay, NSBU and IGN SW Fuses (Rear Fuse Block)
Ignition Switch (2 of 2)
Ignition Switch (2 of 2)
Handling ESD Sensitive Parts Notice
Ignition Switch (1 of 2)
Serial Data Class 2
Body Control Module Components
Body Control System Circuit Description
DIM Input/Output (1 of 2)
DIM Power and Grounds