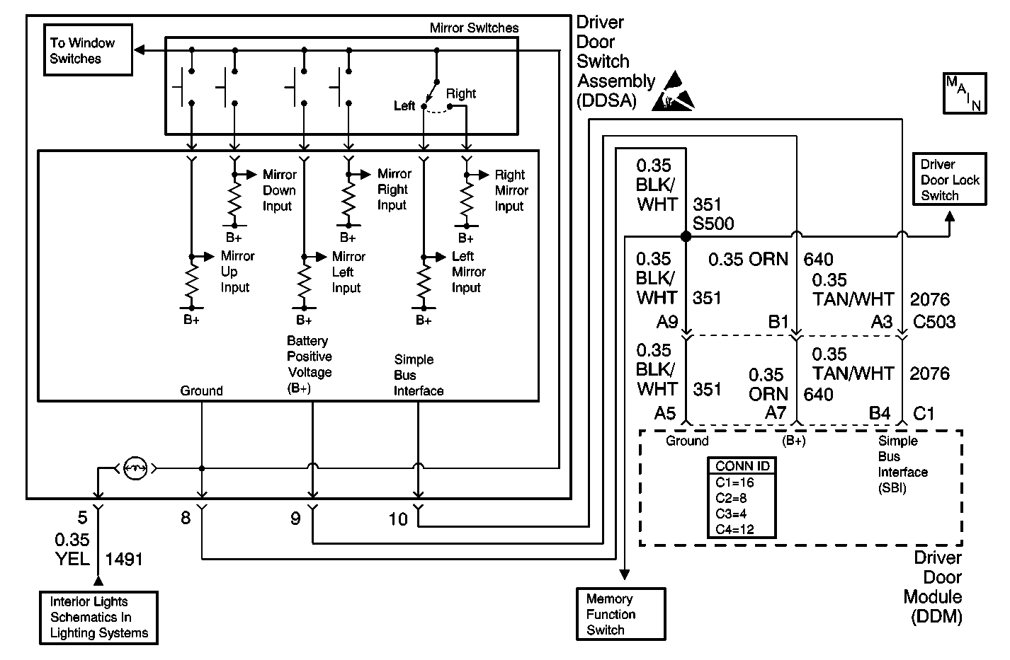
The switch that failed and generated this diagnostic trouble code (DTC) is part of the driver door switch assembly. This assembly contains a microprocessor which takes the signal generated by this switch and assigns a digital message to the switch signal. The driver door switch assembly then sends this message over a simple bus interface (SBI) link to the driver door module (DDM). The DDM then either moves the left mirror or sends commands over the SBI to the right front door module to move the right mirror.
The DDM must be powered for this DTC to set.
If the driver door module receives the message that the switch is closed for more than 30 continuous seconds, the driver door module sets this DTC.
The DDM ignores the continuous message from the driver door switch assembly for this switch, rules it invalid, and will not respond to it. The DDM will not respond to the invalid mirror switch message as a command for either door mirror. The DDM will respond to all other valid switch messages.
The DDM clears this DTC when the switch message status changes.
Step | Action | Yes | No |
|---|---|---|---|
1 | Did you perform the Door Systems Diagnostic System Check? | ||
2 |
Does the scan tool display Idle? | ||
3 |
Does the Driver Mirror Switches parameter change state? | ||
4 |
Does the scan tool indicate the Idle state? | ||
5 | Inspect for poor connections/terminal tension at the driver door module harness connector. Refer to Testing for Intermittent Conditions and Poor Connections and Connector Repairs in Wiring Systems. Did you find and correct the condition? | ||
6 | Inspect for poor connections/terminal tension at the DDSA harness connector. Refer to Testing for Intermittent Conditions and Poor Connections and Connector Repairs in Wiring Systems. Did you find and correct the condition? | ||
7 | Replace the driver door module. Refer to Door Control Module Replacement . Did you complete the replacement? | -- | |
8 | Replace the DDSA. Refer to Front Door Switch Replacement . Did you complete the replacement? | -- | |
9 |
Does the DTC reset? | System OK |