GM Service Manual Online
For 1990-2009 cars only

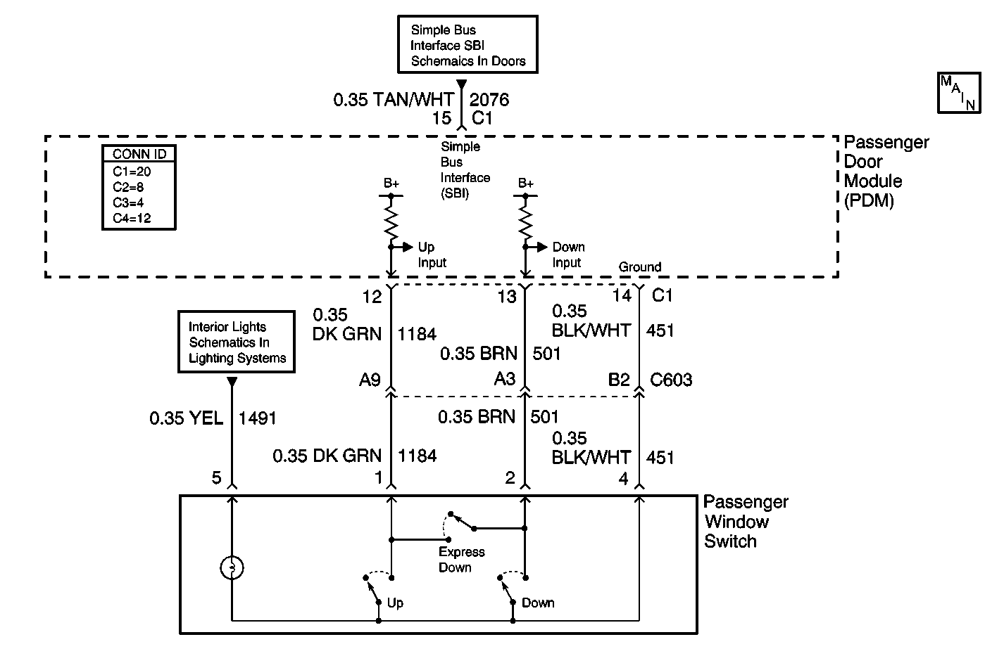
Object Number: 429139  Size: MF
RH Front Door
Handling ESD Sensitive Parts Notice
Front Door Dimming
Simple Bus Interface

Circuit Description

The switch that failed and generated this diagnostic trouble code (DTC) is wired to the passenger door module. This module contains a microprocessor which takes the signal generated by this switch and assigns a digital message to the switch signal. The passenger door module then sends this message over a simple bus interface (SBI) link to the driver door module (DDM).

Conditions for Running the DTC

The DDM and the passenger door module must both be powered and neither can have B1327-Battery Voltage Low or B1328-Battery Voltage High set for this DTC to set.

Conditions for Setting the DTC

If the driver door module (DDM) receives a message indicating that the switch is closed for more than 15 continuous seconds from the passenger door module, the DDM sets this DTC.

Action Taken When the DTC Sets

If the UP switch is closed for more than 15 seconds, both UP and DOWN movement is prohibited from the switch setting the DTC. The window still operates from the driver door swich.

Conditions for Clearing the DTC

The DDM clears this DTC when the switch message is not received.

Test Description

The numbers below refer to the step numbers on the diagnostic table.

  1. Checks the existing state of the right front passenger power window switch by using the current state of the input parameter.

Step

Action

Yes

No

1

Did you perform the Door Systems Diagnostic System Check?

Go to Step 2

Go to Diagnostic System Check - Door Systems

2

  1. Install a scan tool.
  2. Turn ON the ignition leaving the engine OFF.
  3. Observe the Pass. Door Window Sw. parameter in the Driver Door Module data list using the scan tool.

Does the scan tool display Idle?

Go to Step 3

Go to Step 4

3

  1. Activate the right front passenger door window switch.
  2. Observe the Pass. Door Window Sw. parameter using the scan tool.

Does the Pass. Door Window Sw. parameter change state?

Go to Step 10

Go to Step 4

4

  1. Turn OFF the ignition.
  2. Disconnect the right front passenger door window switch.
  3. Turn ON the ignition leaving the engine OFF.
  4. Observe the Pass. Door Window Sw. parameter using the scan tool.

Does the scan tool indicate the Idle state?

Go to Step 7

Go to Step 5

5

Test the right front passenger window up input circuit for a short. Refer to Circuit Testing and Wiring Repairs in Wiring Systems.

Did you find and correct the condition?

Go to Step 10

Go to Step 6

6

Inspect for poor connections/terminal tension at the right front door module harness connector. Refer to Testing for Intermittent Conditions and Poor Connections and Connector Repairs in Wiring Systems.

Did you find and correct the condition?

Go to Step 10

Go to Step 8

7

Inspect for poor connections/terminal tension at the right front passenger window switch harness connector. Refer to Testing for Intermittent Conditions and Poor Connections and Connector Repairs in Wiring Systems.

Did you find and correct the condition?

Go to Step 10

Go to Step 9

8

Replace the right front door module. Refer to Door Control Module Replacement .

Did you complete the replacement?

Go to Step 10

--

9

Replace the right front passenger window switch. Refer to Front Door Switch Replacement .

Did you complete the replacement?

Go to Step 10

--

10

  1. Clear the DTCs using the scan tool.
  2. Operate the vehicle within the Conditions for Running the DTC as specified in the supporting text.

Does the DTC reset?

Go to Step 2

System OK