GM Service Manual Online
For 1990-2009 cars only

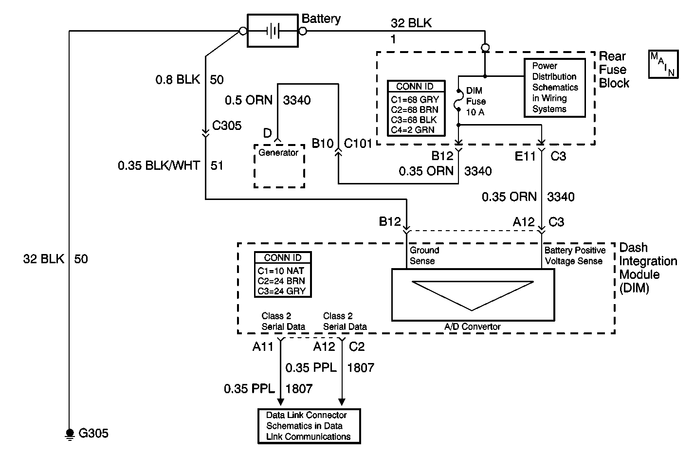
Object Number: 439506  Size: MF
Generator Controls and Battery
Serial Data Class 2

Circuit Description

The DIM has an internal voltage sensor with a dedicated circuit that checks the B+ and B- circuit voltage to determine if it is between 9.0-15.9 volts.

Conditions for Running the DTC

This DTC shall run only if the DIM has power, ground and the ignition is not in CRANK mode. This DTC shall execute regardless of the battery voltage, except when the DTC B1390 is set current.

Conditions for Setting the DTC

  1. This DTC shall be set as current when the voltage falls below 9.0 volts for 1200 milliseconds.
  2. When the vehicle exits CRANK the DIM shall delay checking the voltage for 2 seconds.

Action Taken When the DTC Sets

A message shall be sent out on the class 2 lines to notify all other modules of low battery voltage.

Conditions for Clearing the MIL/DTC

In order to clear the DTC from a current status the voltage shall be greater than 9.54 volts for 1200 milliseconds.

Test Description

The numbers below refer to the step numbers on the diagnostic table.

  1. Tests for the proper operation of the complete circuit.

  2. Tests for the proper operation of the signal input circuit.

Step

Action

Value(s)

Yes

No

1

Did you perform the Diagnostic System Check - Starting and Charging?

--

Go to Step 2

Go to Diagnostic System Check - Engine Electrical

2

  1. Install a scan tool.
  2. Turn ON the ignition, with the engine OFF.
  3. With a scan tool, observe the Volts parameter in the Dash Integration Module (DIM) data list.

Does the scan tool indicate the battery voltage is greater than the specified value?

9.5 Volts

Go to Step 7

Go to Step 3

3

  1. Turn OFF the ignition.
  2. Disconnect the DIM.
  3. Measure the voltage from the signal input circuit of the voltage sensor to the ground circuit of the voltage sensor.

Does the voltage measure near the specified value?

B+

Go to Step 7

Go to Step 4

4

Measure the voltage from the signal input circuit of the voltage sensor to a known good ground.

Does the voltage measure near the specified value?

B+

Go to Step 6

Go to Step 5

5

Test the signal input circuit of the voltage sensor for a high resistance or an open. Refer to Circuit Testing and Wiring Repairs in Wiring Systems.

Did you find and correct the condition?

--

Go to Step 9

Go to Step 7

6

Test the ground circuit of the voltage sensor for a high resistance or an open. Refer to Circuit Testing and Wiring Repairs in Wiring Systems.

Did you find and correct the condition?

--

Go to Step 9

Go to Step 8

7

Inspect for poor connections at the harness connector of the DIM. Refer to Testing for Intermittent Conditions and Poor Connections and Connector Repairs in Wiring Systems.

Did you find and correct the condition?

--

Go to Step 9

Go to Step 8

8

Important: Perform the setup procedure for the DIM.

Replace the DIM. Refer to Dash Integration Module Replacement .

Did you complete the replacement?

--

Go to Step 9

--

9

  1. Use the scan tool in order to clear the DTCs.
  2. Operate the vehicle within the Conditions for Running the DTC as specified in the supporting text.

Does the DTC reset?

--

Go to Step 2

System OK