GM Service Manual Online
For 1990-2009 cars only

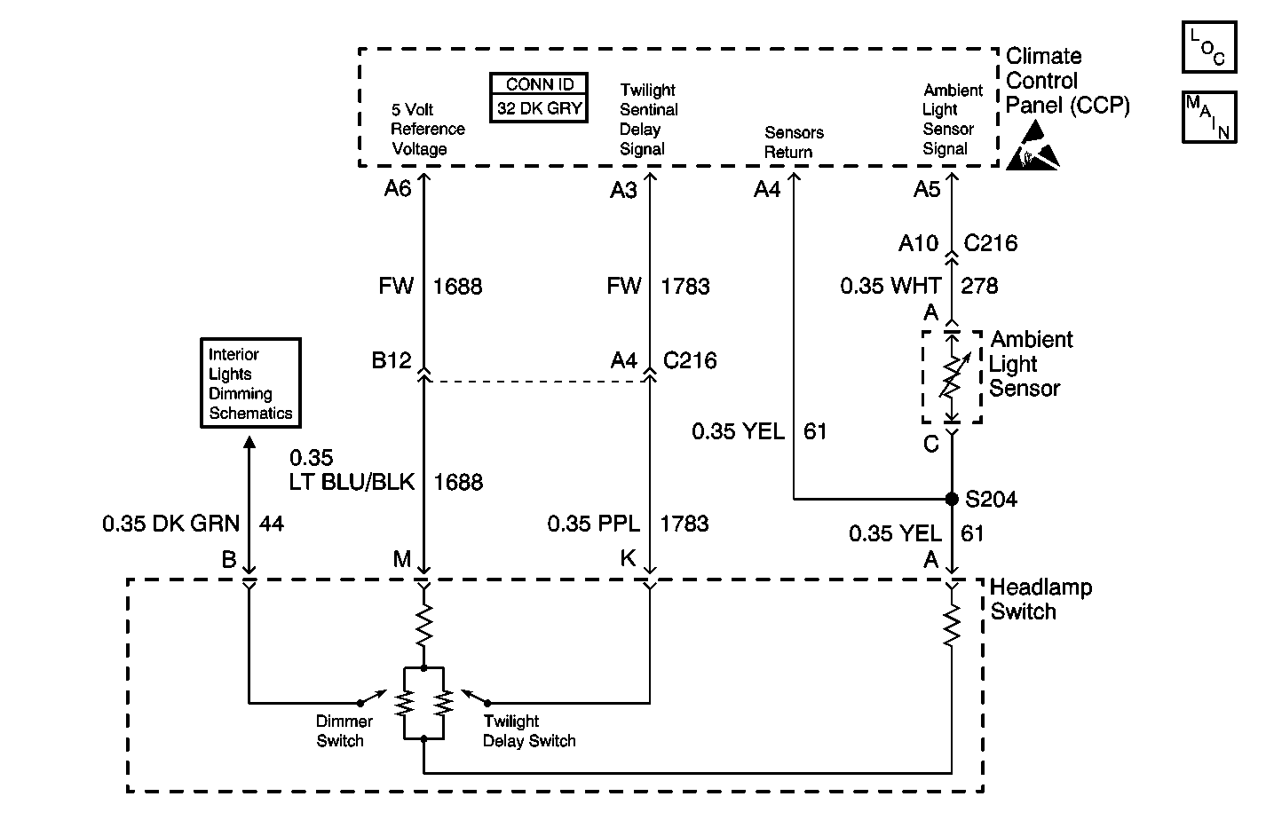
Object Number: 425364  Size: MF
Dimmer Control
Handling ESD Sensitive Parts Notice
Lighting Systems Components
Headlamp Switch, Ambient Light Sensor (C67)

Circuit Description

The twilight photocell sensor is a light sensitive photocell. The climate control panel (CCP) determines the ambient light based on the voltage from the twilight photocell sensor. The CCP controls the head lamp automatic on/off and delayed off functions.

Conditions for Running the DTC

    • Enable flag is set to enable.
    • DTC B1327 is not current.
    • The CCP is powered.

Conditions for Setting the DTC

    • The twilight photocell voltage is less than 0.2 V.
    • The above condition is present for greater than 2 seconds.

Action Taken When the DTC Sets

    • The CCP sets the variable ambient light status to status set to DARK.
    • The CCP sets a DTC.

Conditions for Clearing the MIL/DTC

The CCP does not detect a voltage less than the predetermined value during the diagnostic self test.

Test Description

The numbers below refer to the step numbers on the diagnostic table.

  1. Tests for the proper operation of the circuit in the high voltage range.

  2. Tests for the proper operation of the circuit in the low voltage range. If the fuse in the jumper opens when you perform this test, the signal circuit is shorted to voltage.

Step

Action

Value(s)

Yes

No

1

Did you perform the Lighting Systems Diagnostic System Check?

--

Go to Step 2

Go to Diagnostic System Check - Lighting Systems

2

  1. Install a scan tool.
  2. Turn ON the ignition, with the engine OFF.
  3. With a scan tool, observe the ambient light sensor data parameter in the climate control panel (CCP) data list.

Does the scan tool indicate that the ambient light sesnor data parameter is within the specified range?

0.2-4.8 V

Go to Step 9

Go to Step 3

3

  1. Turn OFF the ignition.
  2. Disconnect the ambient light sensor.
  3. Turn ON the ignition, with the engine OFF.
  4. With a scan tool, observe the ambient light sensor data parameter.

Does the scan tool indicate that the ambient light sesnor data parameter is greater than the specified value?

4.8 V

Go to Step 4

Go to Step 5

4

  1. Turn OFF the ignition.
  2. Connect a 3 amp fused jumper wire between the signal circuit of the ambient light sensor and the sensor return circuit of the ambient light sensor.
  3. Turn ON the ignition, with the engine OFF.
  4. With a scan tool, observe the ambient light sensor data parameter.

Does the scan tool indicate that the ambient light sensor data parameter is less than the specified value?

0.2 V

Go to Step 8

Go to Step 6

5

Test the signal circuit of the ambient light sensor for a short to ground. Refer to Circuit Testing and Wiring Repairs in Wiring Systems.

Did you find and correct the condition?

--

Go to Step 12

Go to Step 9

6

Test the signal circuit of the ambient light sensor for a short to voltage, a high resistance, or an open. Refer to Circuit Testing and Wiring Repairs in Wiring Systems.

Did you find and correct the condition?

--

Go to Step 12

Go to Step 7

7

Test the signal return circuit of the ambient light sensor for high resistance, or an open. Refer to Circuit Testing and Wiring Repairs in Wiring Systems.

Did you find and correct the condition?

--

Go to Step 12

Go to Step 9

8

Inspect for poor connections at the harness connector of the ambient light sensor. Refer to Testing for Intermittent Conditions and Poor Connections and Connector Repairs in Wiring Systems.

Did you find and correct the condition?

--

Go to Step 12

Go to Step 10

9

Inspect for poor connections at the harness connector of the CCP. Refer to Testing for Intermittent Conditions and Poor Connections and Connector Repairs in Wiring Systems.

Did you find and correct the condition?

--

Go to Step 12

Go to Step 11

10

Replace the ambient light sensor. Refer to Sunload and Twilight Sentinel Sensor Replacement in Instrument Panel, Gauges and Console.

Did you complete the replacement?

--

Go to Step 12

--

11

Replace the CCP. Refer to Control Assembly Replacement in HVAC Systems - Manual.

Did you complete the replacement?

--

Go to Step 12

--

12

  1. Use the scan tool in order to clear the DTCs.
  2. Operate the vehicle within the Conditions for Running the DTC as specified in the supporting text.

Does the DTC reset?

--

Go to Step 2

System OK