GM Service Manual Online
For 1990-2009 cars only
Makes
🢒
Buick
🢒
2000
🢒
LeSabre
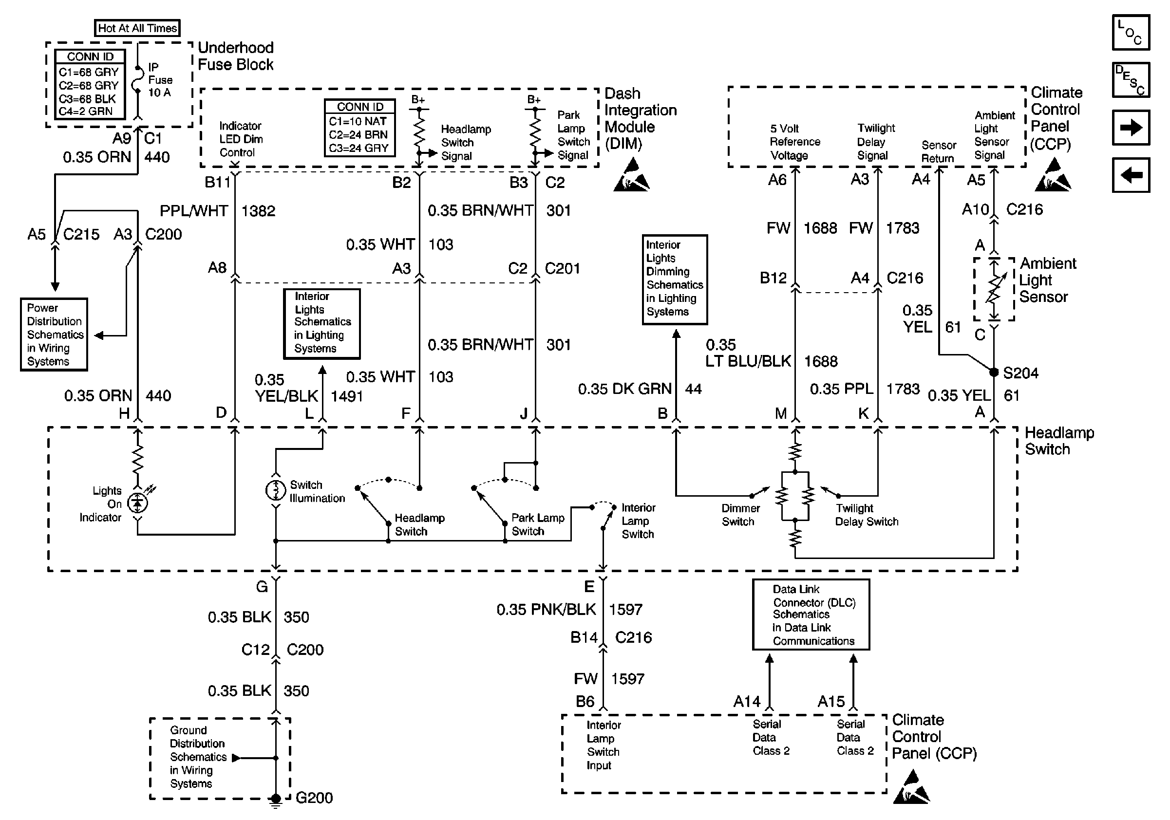
🢒 Headlamp Switch, Ambient Light Sensor (C67)
Headlamp Switch, Ambient Light Sensor (C67)
Headlamp Switch, Ambient Light Sensor (C67)
Lighting Systems Components
Headlights Circuit Description
DRL, High Beam Headlamps, Dimmer Switch
Headlamp Switch, Ambient Light Sensor (CJ2)
Handling ESD Sensitive Parts Notice
Handling ESD Sensitive Parts Notice
Dimmer Control
Instrument Panel and Console Dimming
Serial Data Class 2
G200 (1 of 3)
Handling ESD Sensitive Parts Notice
IP, CIGAR, AUX PWR, and C/LTR Fuses and CIGAR Relay