GM Service Manual Online
For 1990-2009 cars only

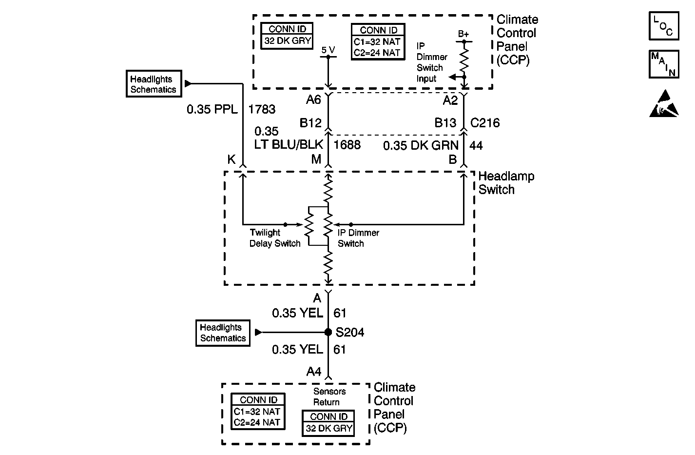
Object Number: 425288  Size: MF
Headlamp Switch, Ambient Light Sensor (C67)
Headlamp Switch, Ambient Light Sensor (C67)
Lighting Systems Components
Dimmer Control
Handling ESD Sensitive Parts Notice

Circuit Description

The IP dimmer pot is a potentiometer. It is powered by the climate control panel (CCP). The CCP determines the level of dimming desired based on the voltage from the IP dimmer pot. The CCP converts the IP dimmer pot feedback voltage to a digital signal and puts it on the Class II communication bus.

Conditions for Running the DTC

The CCP must be powered.

Conditions for Setting the DTC

The feedback voltage is less than 0.2 V for more than 200 milliseconds.

Action Taken When the DTC Sets

The dimming level is set to full brightness for all displays.

Conditions for Clearing the MIL/DTC

The IP dimmer pot short to ground condition must be corrected.

Test Description

The numbers below refer to the step numbers on the diagnostic table.

  1. Tests for the proper operation of the circuit in the high voltage range.

  2. Tests for the proper operation of the circuit in the low voltage range. If the fuse in the jumper opens when you perform this test, the signal circuit is shorted to voltage.

  3. Tests for a short to ground in the 5 volt reference circuit.

Step

Action

Value(s)

Yes

No

1

Did you perform the Lighting Systems Diagnostic System Check?

--

Go to Step 2

Go to Diagnostic System Check - Lighting Systems

2

  1. Install a scan tool.
  2. Turn ON the ignition, with the engine OFF.
  3. With a scan tool, observe the Interior Dim Pot data parameter in the climate control panel (CCP) data list.

Does the scan tool indicate that the Interior Dim Pot data parameter is within the specified range?

0.2-4.8 V

Go to Step 12

Go to Step 3

3

  1. Turn OFF the ignition.
  2. Disconnect the headlamp switch.
  3. Turn ON the ignition, with the engine OFF.
  4. With a scan tool, observe the Interior Dim Pot data parameter.

Does the scan tool indicate that the Interior Dim Pot data parameter is greater than the specified value?

4.8 V

Go to Step 4

Go to Step 8

4

  1. Turn OFF the ignition.
  2. Connect a 3 amp fused jumper wire between the input circuit of the IP dimmer switch and the sensors return circuit of the IP dimmer switch.
  3. Turn ON the ignition, with the engine OFF.
  4. With a scan tool, observe the Interior Dim Pot data parameter.

Does the scan tool indicate that the Interior Dim Pot data parameter is less than the specified value?

0.2 V

Go to Step 5

Go to Step 9

5

  1. Turn OFF the ignition.
  2. Disconnect the fused jumper wire.
  3. Connect a 3 amp fused jumper wire between the 5 volt reference circuit of the IP dimmer switch and the input circuit of the IP dimmer switch.
  4. Turn ON the ignition, with the engine OFF.
  5. With a scan tool, observe the Interior Dim Pot data parameter.

Does the scan tool indicate that the Interior Dim Pot data parameter is greater than the specified value?

4.8 

Go to Step 7

Go to Step 6

6

Test the 5 volt reference circuit of the IP dimmer switch for a short to ground. Refer to Circuit Testing and Wiring Repairs in Wiring Systems.

Did you find and correct the condition?

--

Go to Step 15

Go to Step 12

7

Test the 5 volt reference circuit of the IP dimmer switch for a short to voltage, a high resistance, or an open. Refer to Circuit Testing and Wiring Repairs in Wiring Systems.

Did you find and correct the condition?

--

Go to Step 15

Go to Step 11

8

Test the input circuit of the IP dimmer switch for a short to ground. Refer to Circuit Testing and Wiring Repairs in Wiring Systems.

Did you find and correct the condition?

--

Go to Step 15

Go to Step 12

9

Test the input circuit of the IP dimmer switch for a short to voltage, a high resistance, or an open. Refer to Circuit Testing and Wiring Repairs in Wiring Systems.

Did you find and correct the condition?

--

Go to Step 15

Go to Step 10

10

Test the sensors return circuit of the IP dimmer switch for a high resistance or an open. Refer to Circuit Testing and Wiring Repairs in Wiring Systems.

Did you find and correct the condition?

--

Go to Step 15

Go to Step 12

11

Inspect for poor connections at the harness connector of the headlamp switch. Refer to Testing for Intermittent Conditions and Poor Connections and Connector Repairs in Wiring Systems.

Did you find and correct the condition?

--

Go to Step 15

Go to Step 13

12

Inspect for poor connections at the harness connector of the CCP. Refer to Testing for Intermittent Conditions and Poor Connections and Connector Repairs in Wiring Systems.

Did you find and correct the condition?

--

Go to Step 15

Go to Step 14

13

Replace the headlamp switch. Refer to Headlamp Switch Replacement .

Did you complete the replacement?

--

Go to Step 15

--

14

Replace the CCP. Refer to Control Assembly Replacement in HVAC Systems with A/C-Manual.

Did you complete the replacement?

--

Go to Step 15

--

15

  1. Use the scan tool in order to clear the DTCs.
  2. Operate the vehicle within the Conditions for Running the DTC as specified in the supporting text.

Does the DTC reset?

--

Go to Step 2

System OK