GM Service Manual Online
For 1990-2009 cars only

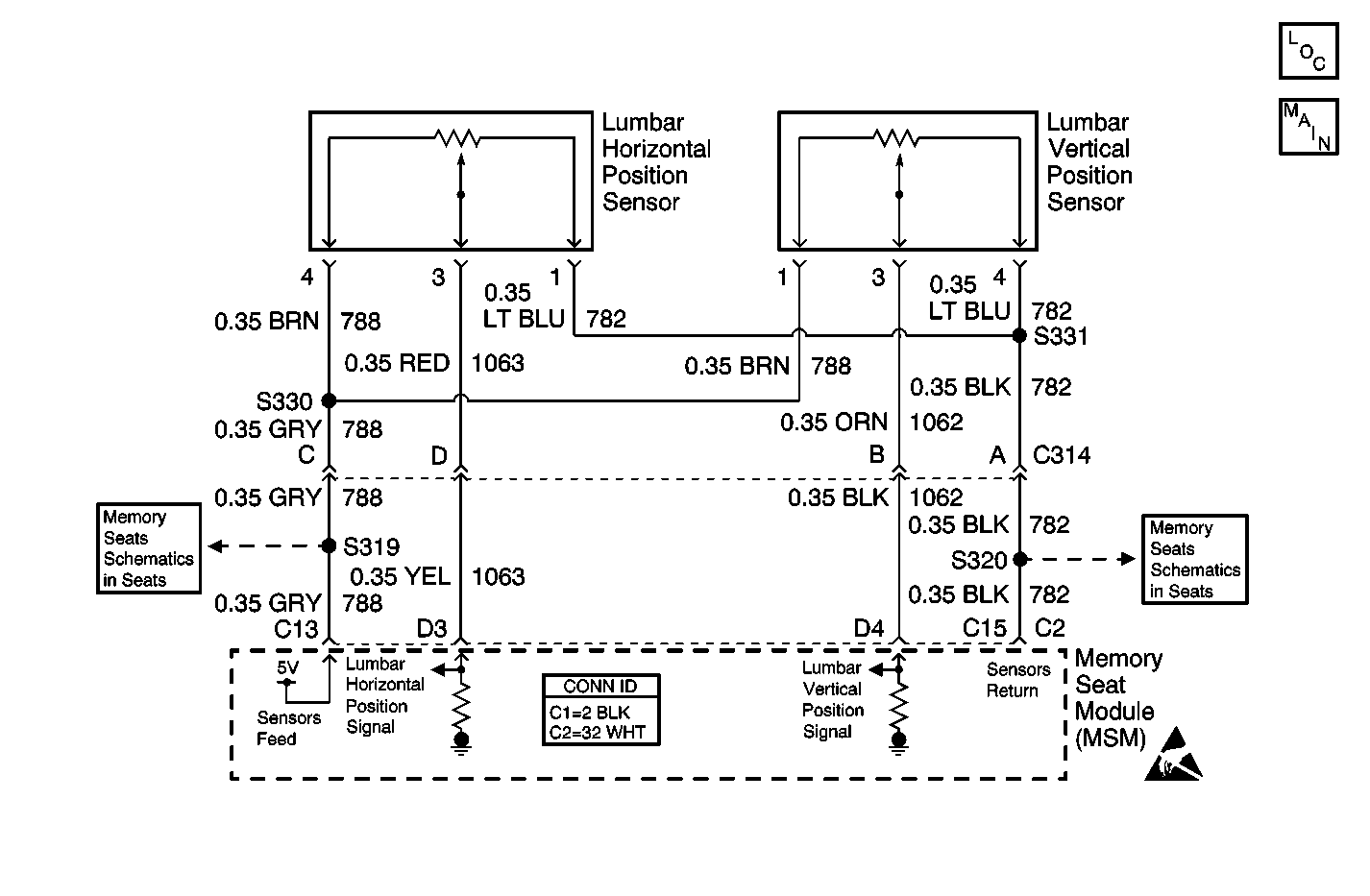
Object Number: 423799  Size: MF
Power Seat Systems Components
Lumbar (w/Memory)
Vertical and Horizontal Motors and Sensors
Vertical and Horizontal Motors and Sensors
Handling ESD Sensitive Parts Notice

Circuit Description

The sensor that sets this diagnostic trouble code (DTC) is attached to the seat direction motor it monitors. The potentiometer in the sensor varies in resistance as the motor moves in the commanded direction. The memory seat module (MSM) receives variable voltage input depending on the resistance of the potentiometer. During memory set, the MSM records the voltage input received from the potentiometer. During memory recall, the MSM moves the motor until the voltage input from the potentiometer matches the voltage stored in memory. During normal operation the position sensor is checked against out of range voltage limits.

Conditions for Running the DTC

The MSM must be powered and can not have B1327-Battery Voltage Low set as a current DTC for this DTC to set.

Conditions for Setting the DTC

If the input received by the MSM from a motor being driven in a commanded direction changes by more than 10 counts or 0.1 volts in the wrong direction, current and history codes are set.

Action Taken When the DTC Sets

    • The MSM will disable the affected motor during memory recall or easy exit operations.
    • The affected motor will respond to manual positioning commands.

Conditions for Clearing the DTC

The MSM will clear the DTC as an active malfunction whenever a manual switch is activated and the MSM sees that the sensor input changes by more than 2 counts or 0.02 volts in the correct direction.

Diagnostic Aids

All position sensors use common Ground and 5 Volt Reference circuits.

Test Description

The number(s) below refer to the step number(s) on the diagnostic table.

  1. This step checks the direction in which the volts change as the switch is activated. The voltage should increase for the lumbar vertical up position and decrease for the lumbar vertical down position.

  2. This step checks the polarity of the seat lumbar vertical position sensor wiring.

  3. This step checks the polarity of the seat lumbar vertical motor wiring.

  4. This step checks the polarity of the seat lumbar vertical switch wiring.

Step

Action

Value(s)

Yes

No

1

Did you perform the Diagnostic System Check - Power Seat systems?

--

Go to Step  2

Go to Diagnostic System Check - Power Seat Systems

2

  1. Install a scan tool.
  2. Turn ON the ignition, with the engine OFF.
  3. Activate the lumbar vertical up switch.
  4. With a scan tool, observe the Lumbar Vertical Sensor parameter in the Memory Seat Module data list.

Does the voltage increase?

--

Go to Step 8

Go to Step 3

3

Does the seat move in the commanded direction?

--

Go to Step 4

Go to Step 5

4

Verify that the seat lumbar vertical position sensor wiring circuits are in the correct harness connector cavities.

Did you find and correct the condition?

--

Go to Step 8

Go to Step 7

5

Verify that the seat lumbar vertical motor wiring circuits are in the correct harness connector cavities.

Did you find and correct the condition?

--

Go to Step 8

Go to Step 6

6

Verify that the seat switch wiring circuits are in the correct harness connector cavities.

Did you find and correct the condition?

--

Go to Step 8

Go to Step 7

7

Replace the memory seat module. Refer to Memory Seat Control Module Replacement .

Did you complete the replacement?

--

Go to Step 8

--

8

  1. Use the scan tool in order to clear the DTCs.
  2. Operate the vehicle within the Conditions for Running the DTC as specified in the supporting text.

Does the DTC reset?

--

Go to Step 2

System OK