GM Service Manual Online
For 1990-2009 cars only

DTC C1245 Low Tire Pressure Detected w/UB7


Object Number: 605154  Size: MF
TIM System Components
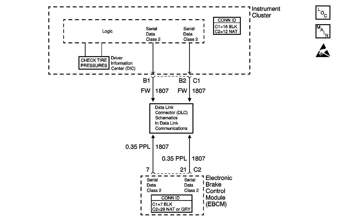
TIM System Schematics
Handling ESD Sensitive Parts Notice
Serial Data Class 2

Circuit Description

The tire inflation monitor (TIM) system uses the EBCM, wheel speed sensors, class 2 serial data messages, and instrument cluster in order to perform the system functions.

The EBCM contains the software to perform the system monitoring functions. The EBCM uses wheel speed data obtained from the wheel speed sensors to detect relative pressure differences. Any ABS/TCS system activity causes the EBCM to temporarily suspend the tire inflation monitor system functions.

Conditions for Running the DTC

The vehicle speed is between 24-145 km/h (15-90 mph).

Conditions for Setting the DTC

One of the following conditions occur:

    • The EBCM detects a tire pressure difference of 69 kPa (10 psi).
    • The EBCM sets a DTC C1254.
    • Loss of battery positive voltage (B+) at the EBCM.
    • A battery disconnect or a low battery voltage condition.

Actions Taken When the DTC Sets

The DIC displays the CHECK TIRE PRESSURES message.

Conditions for Clearing the DTC

    • The condition for the DTC is no longer present (the DTC is not current) and you performed the tire inflation monitoring reset function.
    • The condition for the DTC is no longer present (the DTC is not current) and you used the scan tool Clear DTC function.
    • The EBCM automatically clears the history DTC when a current DTC is not detected in 100 consecutive drive cycles.

Diagnostic Aids

Any of the following conditions can cause this DTC.

    • One or more of the vehicle's tires is under inflated.
    • One or more of the vehicle's tires is over inflated.
    • The tire pressures have been altered without resetting the TIM.
    • The tires have been rotated or changed without resetting the TIM.
    • The tires are different in size than the original equipment manufacturer's.
    • Rough or slippery road conditions (dirt, gravel, wet, snow, or ice).
    • The tires are out of balance.
    • Loss of battery positive voltage (B+) at the EBCM.
    • A battery disconnect or a low battery voltage condition.
    • Water intrusion into a wheel speed sensor connector.
    • A suspension condition (i.e. the vehicle is out of alignment).

Test Description

The number below refers to the step number on the diagnostic table.

  1. This step inspects the tires for proper tire pressures.

Step

Action

Value(s)

Yes

No

1

Did you perform the TIM Diagnostic System Check?

--

Go to Step 2

Go to Diagnostic System Check - Tire Inflation Monitoring

2

  1. Install a scan tool.
  2. Turn ON the ignition, with the engine OFF.
  3. With a scan tool, monitor the DTC Information for DTC C1245 in the DRP/ABS/TCS/TIM/VSES (if equipped) Diagnostic Trouble Codes (DTCs).

Does the scan tool indicate that DTC C1245 is current?

--

Go to Step 3

Go to Diagnostic Aids

3

Since most occurrences of this DTC are caused by low tire pressure, review the TIM system with the customer to verify the conditions under which the DTC set.

Did tire inflation cause this DTC to set?

--

Go to Step 5

Go to Step 4

4

  1. Perform the tire inflation monitoring reset. Refer to Tire Inflation Monitor Resetting .
  2. Use the scan tool in order to clear the DTCs.
  3. Operate the vehicle within the Conditions for Running the DTC as specified in the supporting text.

Does the DTC reset as a current DTC?

--

Go to Diagnostic Aids

System OK

5

Inspect the tire pressures and adjust if needed. Perform the tire inflation monitoring reset if tire pressures were adjusted. Refer to Tire Inflation Monitor Resetting .

Did you complete the repair?

--

System OK

--