GM Service Manual Online
For 1990-2009 cars only

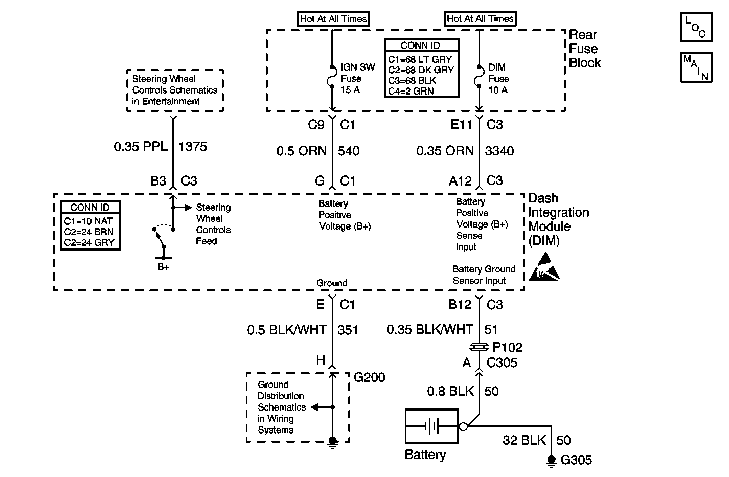
Object Number: 424193  Size: MF
Steering Wheel Controls Schematics
G200 (1 of 3)
Handling ESD Sensitive Parts Notice
Body Control Module Components
DIM Power and Grounds

Circuit Description

The DIM has an internal battery voltage sensor and a reference voltage. The DIM compares the voltages every 300 milliseconds.

Conditions for Running the DTC

This DTC will run only if the DIM has power and ground. This DTC will execute regardless of the source voltage.

Conditions for Setting the DTC

This code shall be set after 10 consecutive readings that the two voltages differ by 1 volt or greater.

Action Taken When the DTC Sets

All writes to the EEPROM will be suspended. All loss of communication and low/high voltage DTC codes are suspended.

Conditions for Clearing the MIL/DTC

In order to clear the DTC from a current status, the two voltages will differ less than 1 volt for 10 consecutive readings.

Test Description

The numbers below refer to the step numbers on the diagnostic table.

  1. This step verifies that a fault in the steering wheel control feed circuit is not causing the module to measure a false voltage.

Step

Action

Value(s)

Yes

No

1

Did you perform Body Control System Diagnostic System Check?

--

Go to Step 2

Go to Diagnostic System Check - Body Control System

2

  1. Turn OFF the ignition.
  2. Disconnect the dash integration module (DIM).
  3. Turn ON the ignition, with the engine OFF.
  4. Measure the voltage from the voltage sensor input circuit of the DIM to the voltage sensor ground circuit of the DIM.
  5. Measure the voltage from the battery positive voltage circuit of the DIM to the ground circuit of the DIM.
  6. Compare the voltage sensor and DIM battery positive voltage circuit voltages.

Is the voltage difference less than the specified value?

1 V

Go to Testing for Intermittent Conditions and Poor Connections in Wiring Systems

Go to Step 3

3

Test the DIM feed circuit for a high resistance or an open. Refer to Circuit Testing and Wiring Repairs in Wiring Systems.

Did you find and correct the condition?

--

Go to Step 10

Go to Step 4

4

Test the DIM ground circuit for a high resistance or an open. Refer to Circuit Testing and Wiring Repairs in Wiring Systems.

Did you find and correct the condition?

--

Go to Step 10

Go to Step 5

5

Test the voltage sensor input circuit for a high resistance or an open. Refer to Circuit Testing and Wiring Repairs in Wiring Systems.

Did you find and correct the condition?

--

Go to Step 10

Go to Step 6

6

Test the voltage sensor ground circuit for a high resistance or an open. Refer to Circuit Testing and Wiring Repairs in Wiring Systems.

Did you find and correct the condition?

--

Go to Step 10

Go to Step 7

7

Test the steering wheel control feed circuit for a short to ground or a short to voltage. Refer to Circuit Testing and Wiring Repairs in Wiring Systems.

Did you find and correct the condition?

--

Go to Step 10

Go to Step 8

8

Inspect for poor connections at the harness connector of the DIM. Refer to Testing for Intermittent Conditions and Poor Connections and Connector Repairs in Wiring Systems.

Did you find and correct the condition?

--

Go to Step 10

Go to Step 9

9

Important:: After replacement of the DIM perform the set up procedure for the DIM. Refer to Body Control Module (BCM) Programming/RPO Configuration .

Replace the DIM. Refer to Dash Integration Module Replacement .

Did you complete the replacement?

--

Go to Step 10

--

10

  1. Use the scan tool in order to clear the DTC's.
  2. Operate the vehicle within the Conditions for Running the DTC as specified in the supporting text.

Does the DTC reset?

--

Go to Step 2

System OK