GM Service Manual Online
For 1990-2009 cars only
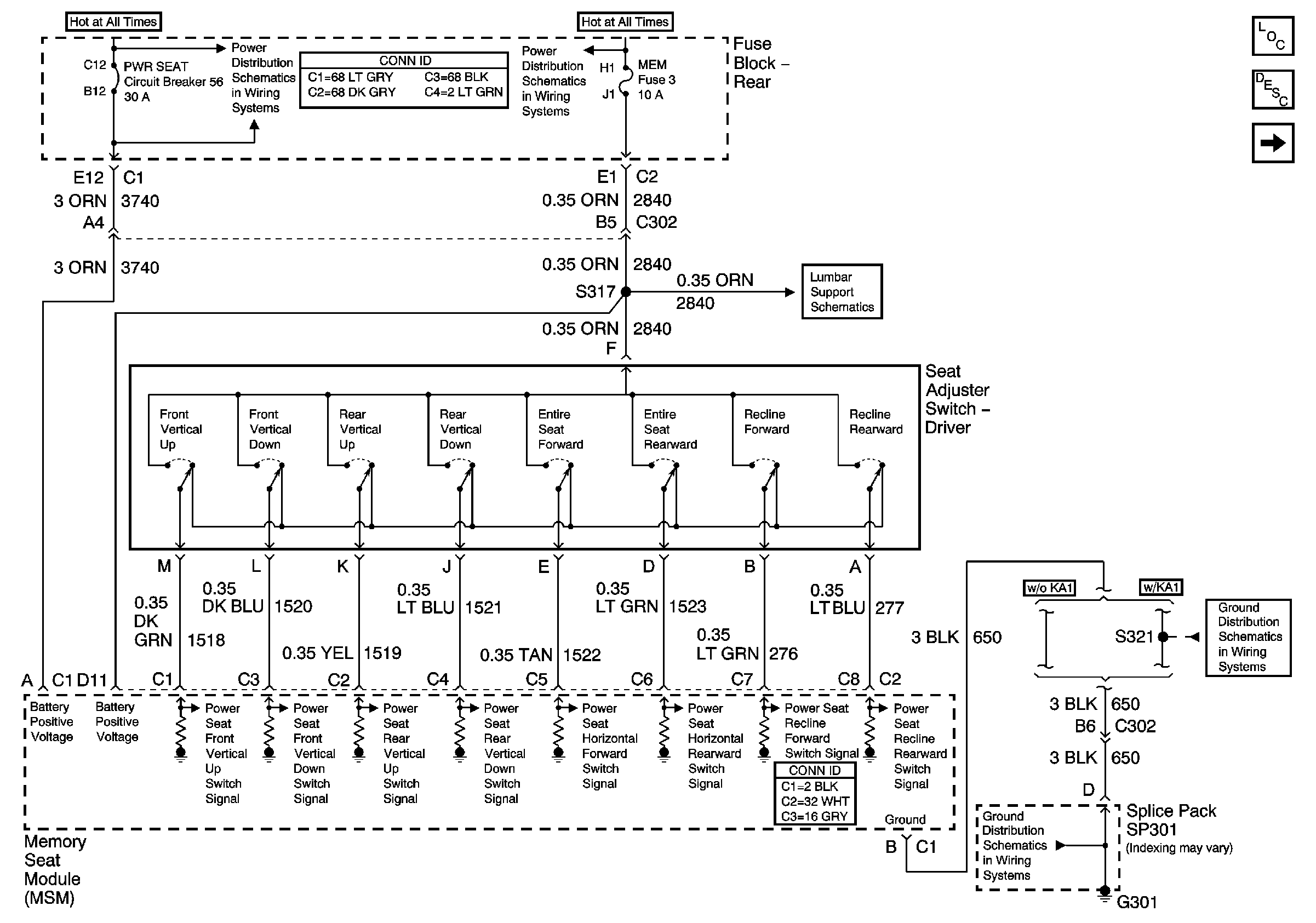
Figure 1:

Power, Ground, Driver Seat Switch and Memory Seat Module (MSM)


Object Number: 887765  Size: FS
Master Electrical Component List
Memory Function Switch
G200 (2 of 2)
G200 (2 of 2)
Lumbar (w/ Memory)
HTDST RF, HTDST LF, DIM, and MEM Fuses (Fuse Block Rear)
PWR WDO and PWR SEAT Circuit Breakers (Fuse Block Rear)
Figure 2:

Memory Function Switch


Object Number: 690995  Size: FS
Master Electrical Component List
Vertical and Horizontal Motors and Sensors
Power, Ground, Driver Seat Switch and Memory Seat Module (MSM)
Serial Data Class 2
Dimming Control
Figure 3:

Vertical and Horizontal Motors and Sensors


Object Number: 691002  Size: FS
Master Electrical Component List
Recline Motor and Sensor
Memory Function Switch
Lumbar (w/ Memory)
Figure 4:

Recline Motor and Sensor


Object Number: 691012  Size: FS
Master Electrical Component List
Vertical and Horizontal Motors and Sensors
Serial Data Class 2
Lumbar (w/ Memory)