GM Service Manual Online
For 1990-2009 cars only
Makes
🢒
Buick
🢒
2005
🢒
LeSabre
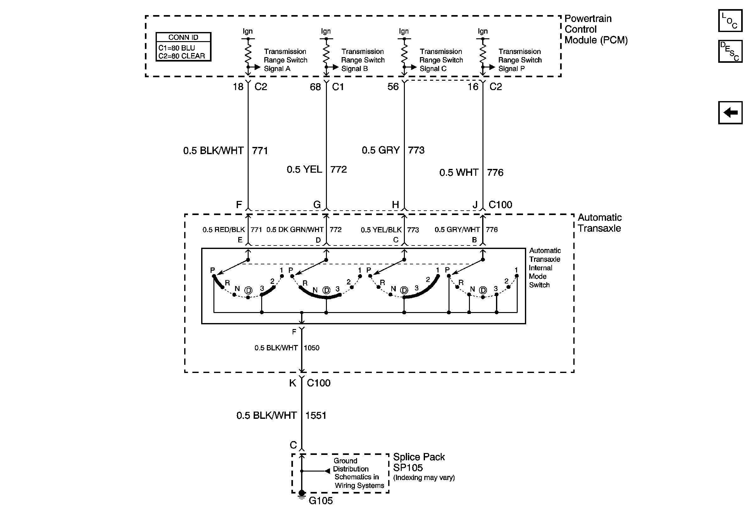
🢒 Internal Mode Switch (IMS) Inputs
Internal Mode Switch (IMS) Inputs
Internal Mode Switch (IMS) Inputs
Master Electrical Component List
Electronic Component Description
Transmission Solenoids (L36)
G104 and G105