GM Service Manual Online
For 1990-2009 cars only
Makes
🢒
Buick
🢒
2000
🢒
Park Avenue
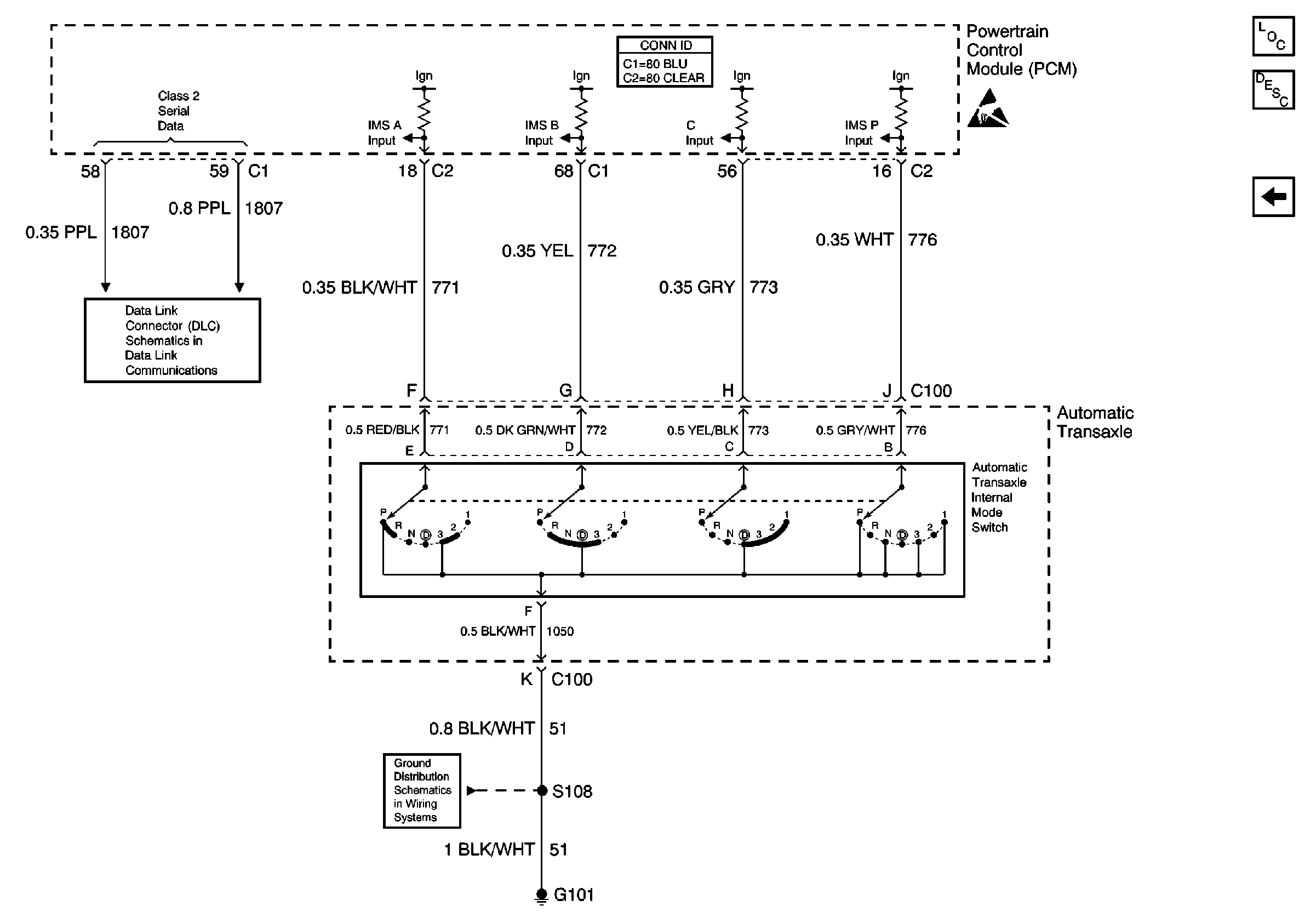
🢒 Park Neutral Position Switch
Park Neutral Position Switch
Park Neutral Position Switch
Automatic Transmission Components
Automatic Transmission Shift Lock Control Circuit Description
Auto Trans Shift Lock Control
G100, G101, G102, G103
G100, G101, G102, G103
Handling ESD Sensitive Parts Notice