GM Service Manual Online
For 1990-2009 cars only
Makes
🢒
Buick
🢒
2000
🢒
Park Avenue
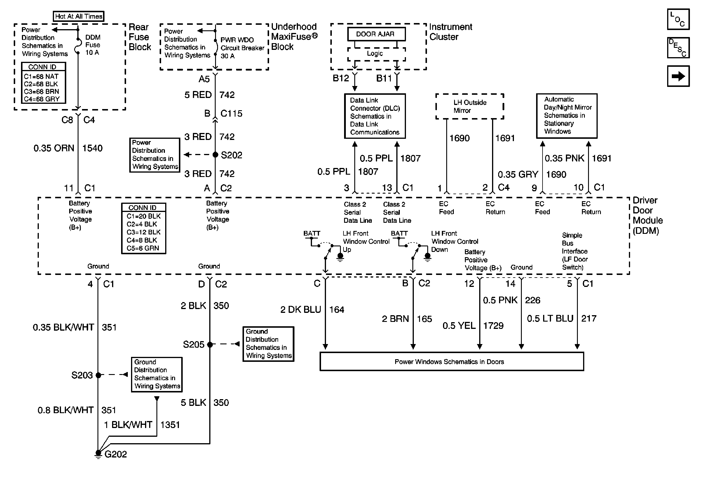
🢒 Driver Door Module
Driver Door Module
Driver Door Module
Power Door Systems Components
Power Door Locks Operation
Left Front Door Jamb Switch
Class 2 Serial Data Line
Power Door Systems Components
G202, 1 of 4
Underhood Maxi-Fuse Block, RAP Fuse/Rear Fuse Block, RAP Relay, RADIO and SUNROOF Fuses
Underhood Fuse Block, BAT 1 Fuse/Rear Fuse Block, RDM, C/LTR, DDM, HTDST L and TRK REL Fuses/ IP Fuse Block, PDM, SBM and CSTR/SBM Fuses
Handling ESD Sensitive Parts Notice
Underhood Maxi-Fuse Block, RAP Fuse/Rear Fuse Block, RAP Relay, RADIO and SUNROOF Fuses
G202, 2 of 4