GM Service Manual Online
For 1990-2009 cars only

DTC C1278 TCS Temporarily Inhibited By PCM w/NW9


Object Number: 537994  Size: MF
ABS Components
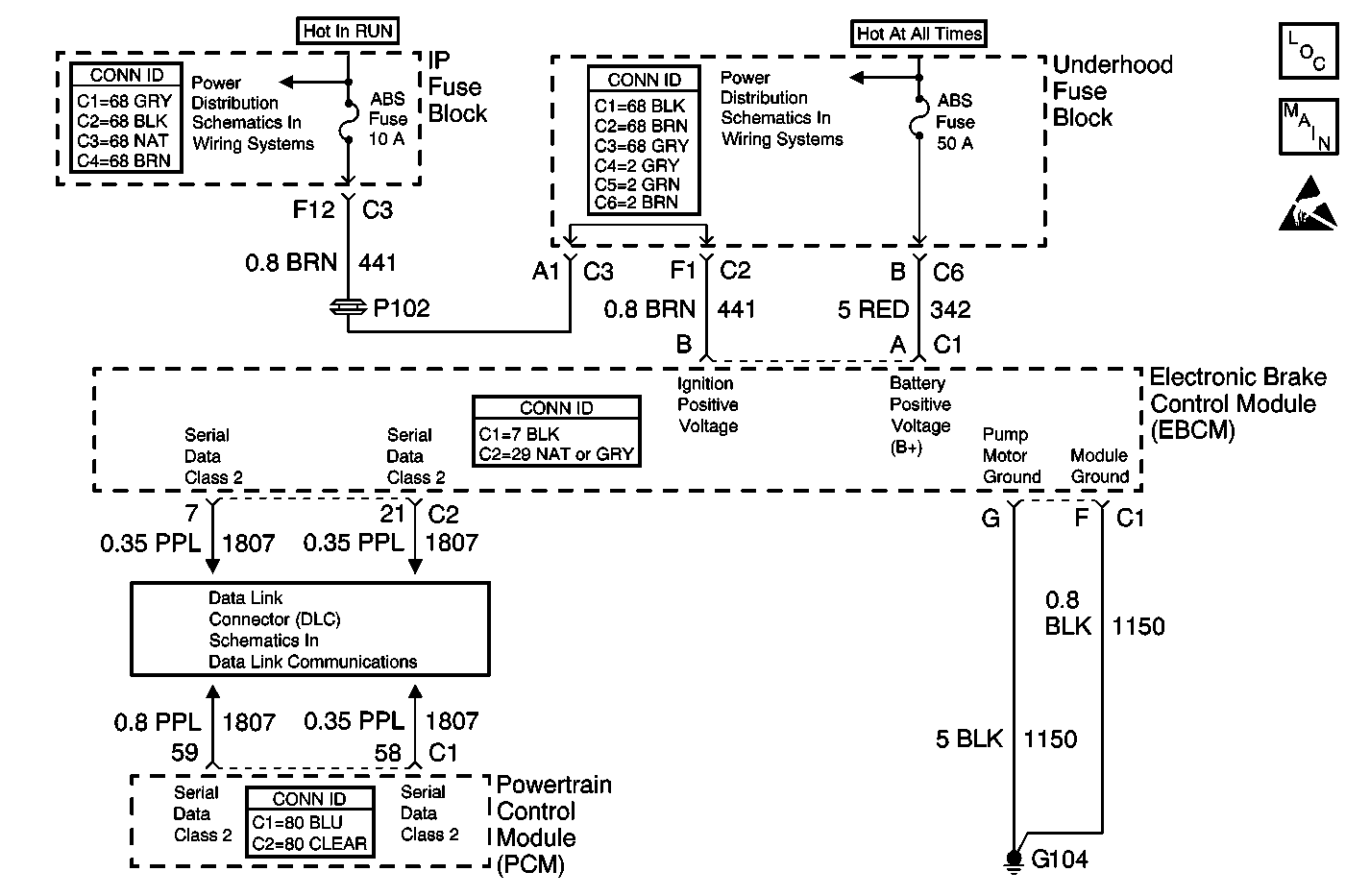
PWR, GND, Solenoid Valves, and Pump Motor
Handling ESD Sensitive Parts Notice
Underhood Fuse Block, RUN Fuse/IP Fuse Block, RUN Fuse, IGN-3 and Run/Accessory Relays
Underhood Fuse Block and Underhood Maxi-Fuse Block
Class 2 Serial Data Line

Circuit Description

The PCM monitors various parameters and will not allow traction control operation if any parameter falls outside a specified range.

Conditions for Running the DTC

The ignition is ON.

Conditions for Setting the DTC

The PCM diagnoses a condition preventing the engine control portion of the traction control function and sends a serial data message to the EBCM indicating that torque reduction is not allowed. The PCM will typically set a DTC and the EBCM will set this DTC.

Action Taken When the DTC Sets

    • The EBCM disables the TCS for the duration of the ignition cycle.
    • The TRAC OFF indicator turns ON.
    • The ABS remains functional.

Conditions for Clearing the DTC

    • The condition for the DTC is no longer present and the DTC is cleared with a scan tool.
    • The electronic brake control module (EBCM) automatically clears the history DTC when a current DTC is not detected in 100 consecutive drive cycles.

Diagnostic Aids

This DTC is for information only. As an aid to the technician, this DTC indicates that there are no problems in the ABS/TCS system.

Step

Action

Value(s)

Yes

No

1

Did you perform the ABS Diagnostic System Check?

--

Go to Step 2

Go to Diagnostic System Check - ABS

2

Is DTC C1278 set as a current code?

--

Go to Step 4

Go to Step 3

3

  1. Start the engine.
  2. Carefully test drive the vehicle at a speed above specified value.
  3. Use the scan tool in order to monitor the DRP/ABS/TCS/VSES/TIM DTCs.

  4. Repeat the drive cycle sequence twice.

Did DTC C1278 set in the last 3 tests?

16 km/h (10 mph)

Go to Step 4

Go to Diagnostic Aids

4

Inspect the PCM. Refer to Powertrain On Board Diagnostic (OBD) System Check in Engine Controls - 3.8L.

Did you find and correct the condition?

--

Go to Step 5

Go to Diagnostic Aids

5

  1. Use the scan tool in order to clear the DTCs.
  2. Operate the vehicle within the Conditions for Running the DTC as specified in the supporting text.

Does the DTC reset?

--

Go to Step 2

System OK