GM Service Manual Online
For 1990-2009 cars only

Object Number: 582915  Size: MF
Power Seat Systems Components
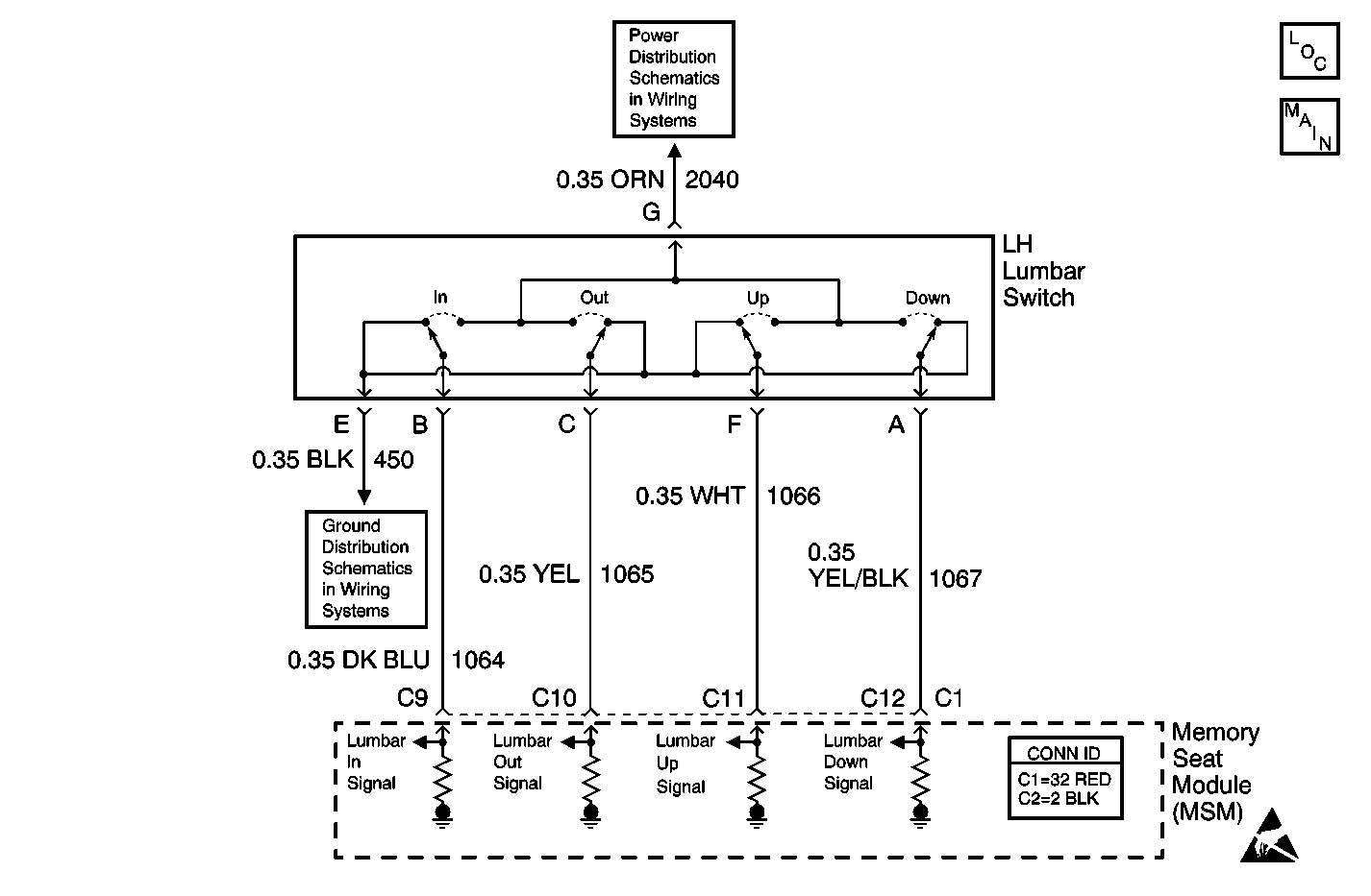
Lumbar Support Schematics: Memory Lumbar
Handling ESD Sensitive Parts Notice
Power Distribution Schematics
Ground Distribution Schematics

Circuit Description

The memory seat module (MSM) switches are normally grounded. They switch 12 V to the MSM when they are pressed. The MSM commands the driver seat to move in response to the switch inputs.

Conditions for Running the DTC

The MSM must be powered. The MSM checks the switch inputs and the position sensor signals continuously.

Conditions for Setting the DTC

If a seat direction switch circuit is closed to 12 V for 30 seconds after the motor controlled by that switch circuit reaches the end of its travel, the MSM sets the DTC for that switch circuit failure. The switch DTCs will also set if the sensor monitoring motion in the direction commanded has failed and sets a DTC.

Action Taken When the DTC Sets

A motor output driven in response to the switch considered failed is deactivated. All memory recall commands, such as Driver 1 or 2 and easy exit, are ignored. The MSM will respond to any other switch input that has not set a DTC.

Conditions for Clearing the DTC

The DTC automatically clears if the switch or sensor setting the DTC does not test as out of limits or closed. The DTC changes from a current fault to a history fault.

Test Description

The numbers below refer to the step numbers on the diagnostic table.

  1. Checks the existing state of the driver's seat lumbar switch by using the current state of the signal parameter.

Step

Action

Yes

No

1

Did you perform the Diagnostic System Check-Power Seat Systems?

Go to Step  2

Go to Diagnostic System Check - Power Seat Systems

2

  1. Install a scan tool.
  2. Turn ON the ignition, with the engine OFF.
  3. Observe the Lumbar Switches parameter in the Memory Seat Module data list using the scan tool.

Does the scan tool display Idle?

Go to Step  3

Go to Step  4

3

  1. Activate the lumbar forward switch.
  2. With a scan tool, observe the Lumbar Switches parameter.

Does the Lumbar Switches parameter change state?

Go to Step  10

Go to Step  4

4

  1. Turn OFF the ignition.
  2. Disconnect the lumbar switch.
  3. Turn ON the ignition, with the engine OFF.
  4. With a scan tool, observe the Lumbar Switches parameter.

Does the scan tool display Idle?

Go to Step  7

Go to Step  5

5

Test the lumbar forward signal circuit for a short to B+. Refer to Circuit Testing in Wiring Systems.

Did you find and correct the condition?

Go to Step  10

Go to Step  6

6

Inspect for poor connection at the harness connector of the memory seat module. Refer to Testing for Intermittent Conditions and Poor Connections in Wiring Systems.

Did you find and correct the condition?

Go to Step  10

Go to Step  8

7

Inspect for poor connections at the harness connector of the lumbar switch. Refer to Testing for Intermittent Conditions and Poor Connections in Wiring Systems.

Did you find and correct the condition?

Go to Step  10

Go to Step  9

8

Replace the memory seat module. Refer to Memory Seat Control Module Replacement .

Did you complete the replacement?

Go to Step  10

--

9

Replace the lumbar switch. Refer to Lumbar Switch Replacement .

Did you complete the replacement?

Go to Step  10

--

10

  1. Use the scan tool in order to clear the DTCs.
  2. Operate the vehicle within the Conditions for Running the DTC as specified in the supporting text.

Does the DTC reset?

Go to Step  2

System OK