GM Service Manual Online
For 1990-2009 cars only
Makes
🢒
Buick
🢒
1999
🢒
Regal
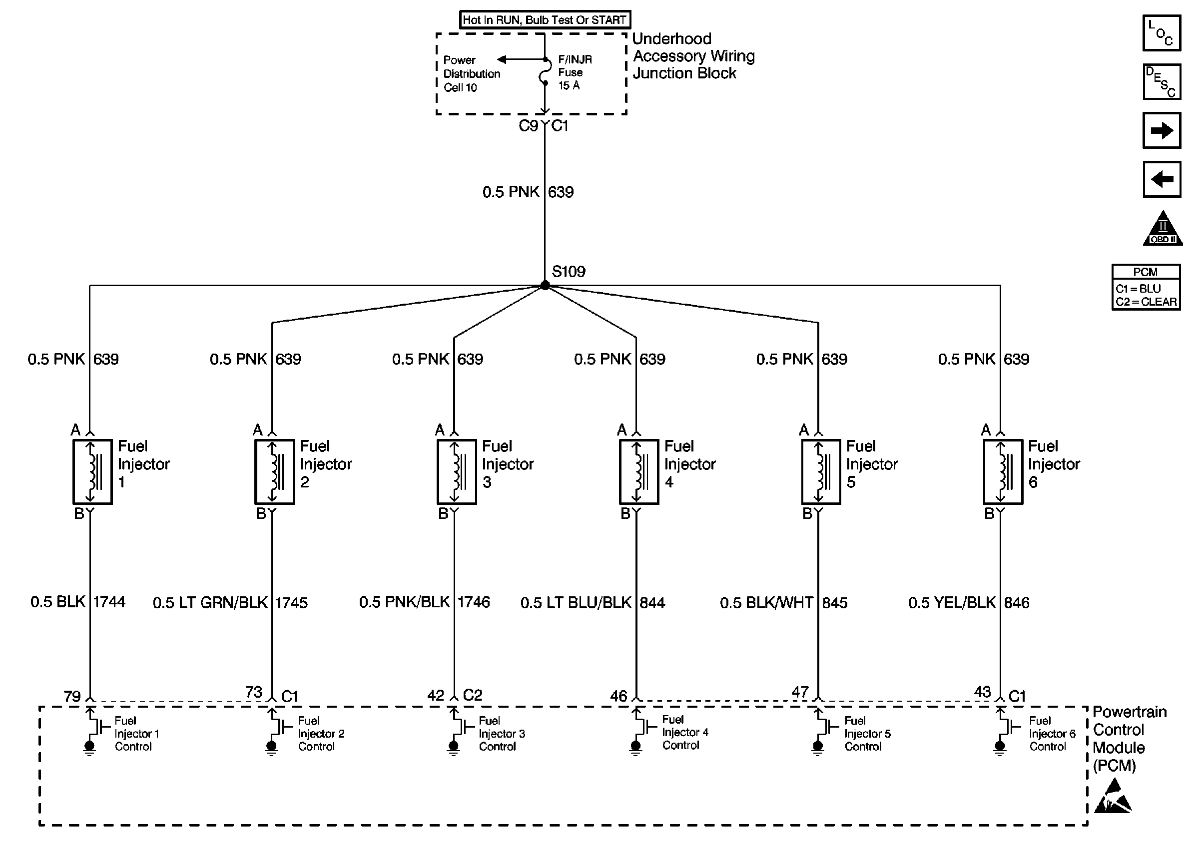
🢒 Cell 21: Fuel Injectors
Cell 21: Fuel Injectors
Cell 21: Fuel Injectors
Cell 21: Engine Data Sensors-A/C Refrig Press, ECT, IAT, MAP and TP
OBDII Symbol Description Notice
Cell 21: Fuel Controls - VIN 1 (2 of 2)
Cell 10: Underhood Accessory Wiring Junction Block
Handling Electrostatic Discharge Sensitive Parts Notice