GM Service Manual Online
For 1990-2009 cars only
Makes
🢒
Buick
🢒
2000
🢒
Regal
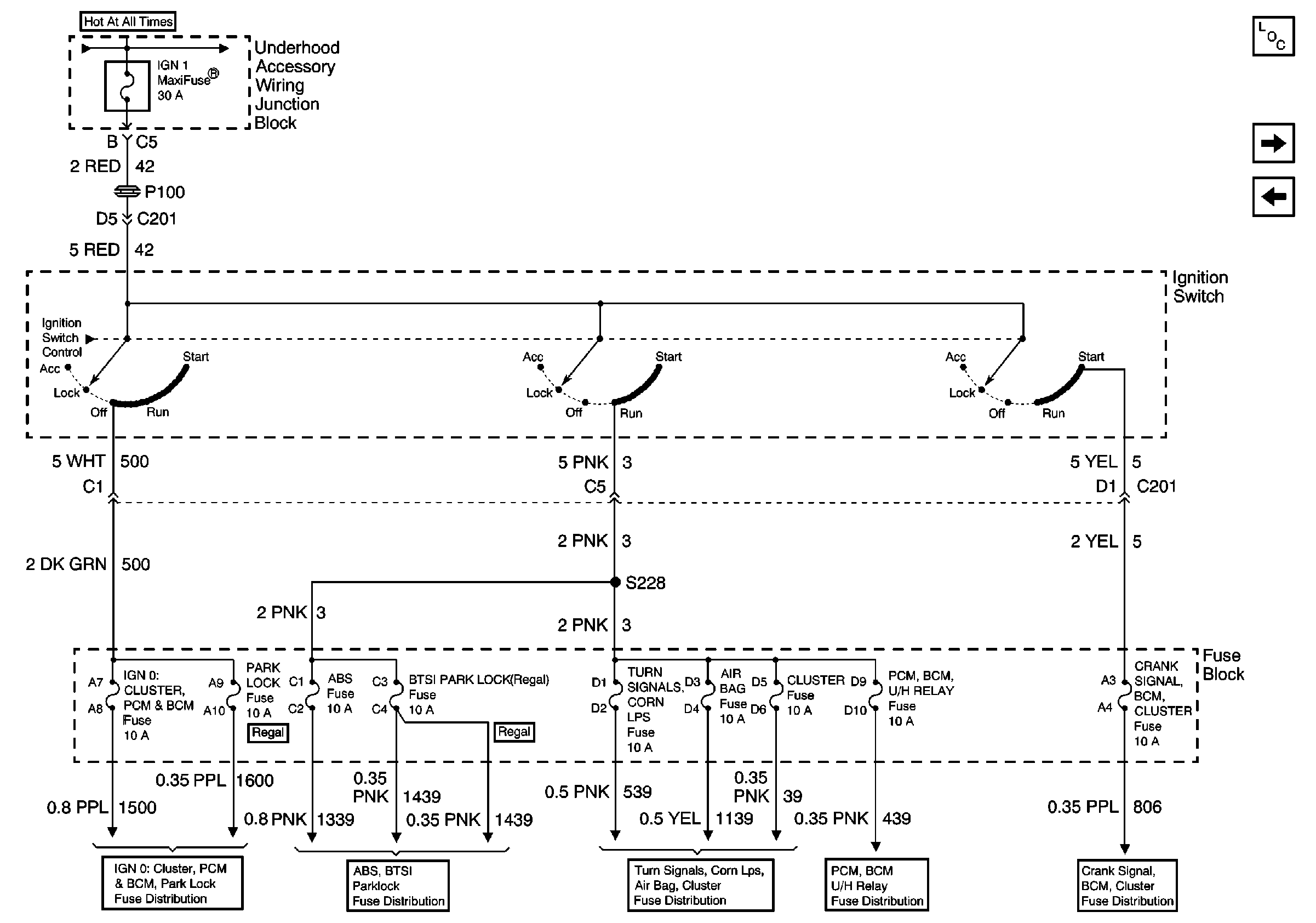
🢒 UAWJB, Ignition Switch, and Fuse Block
UAWJB, Ignition Switch, and Fuse Block
UAWJB, Ignition Switch, and Fuse Block
Fuse Block Outside Rearview Mirror, Cluster, BCM, PCM, and BTSI Fuse
ABS and BTSI Fuses
Fuse Block, UAWJB, PCM, BCM, Cluster, Turn Signal Switch, and SDM Module
Fuse Block, UAWJB, PCM, BCM, Cluster, Turn Signal Switch, and SDM Module
Fuse Block Outside Rearview Mirror, Cluster, BCM, PCM, and BTSI Fuse
Power and Grounding Components
UAWJB, Fuse Block, Headlamps, EBCM, and Generator
UAWJB, RAP Relay, Ignition Switch, and Fuse Block