GM Service Manual Online
For 1990-2009 cars only
Makes
🢒
Buick
🢒
2000
🢒
Regal
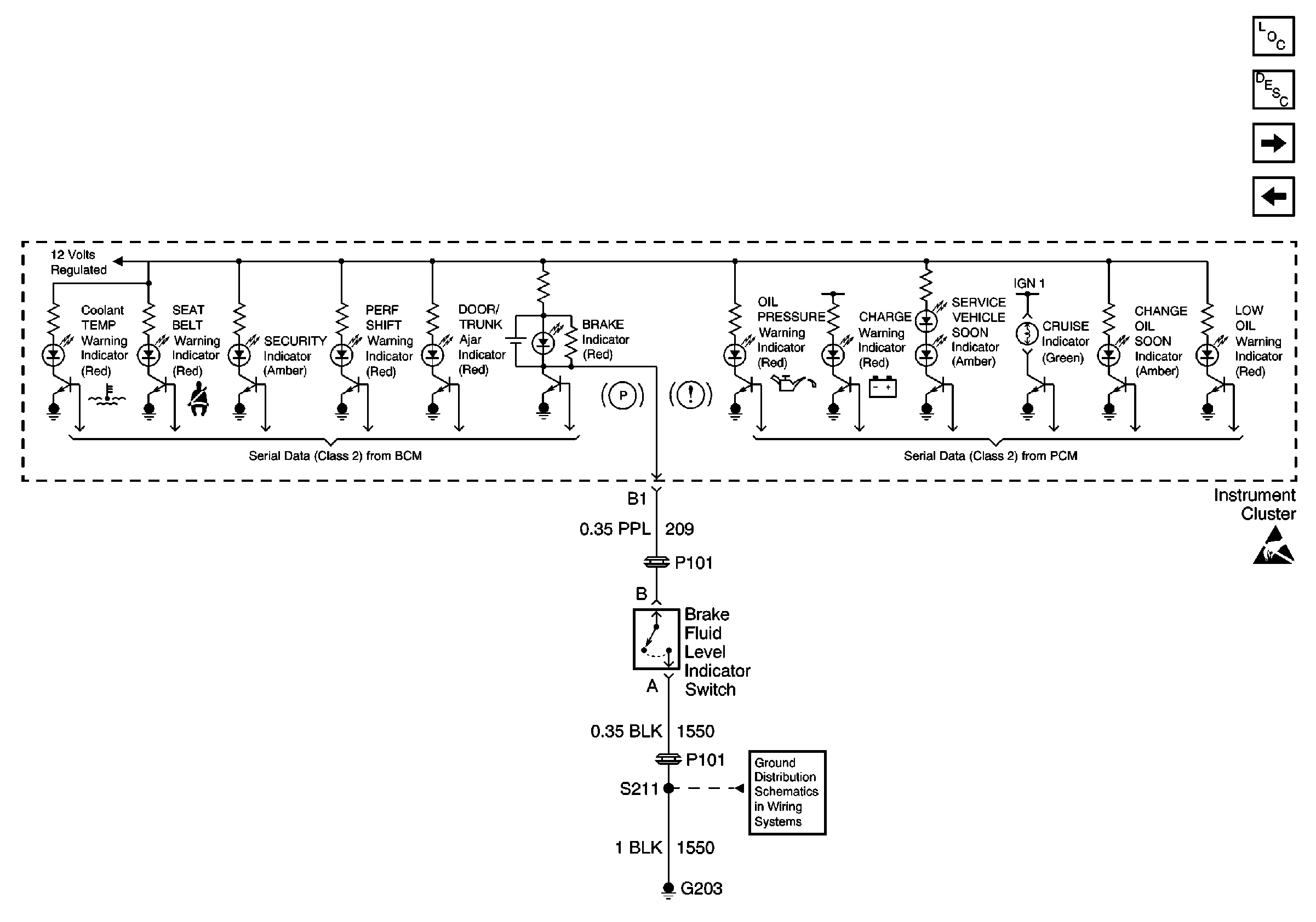
🢒 IPC Class 2 Serial Data MIL Outputs and Brake Fluid Level Indicator Input
IPC Class 2 Serial Data MIL Outputs and Brake Fluid Level Indicator Input
IPC Class 2 Serial Data MIL Outputs and Brake Fluid Level Indicator Input
Instrument Panel, Gages, and Console Component Views
Instrument Cluster Circuit Description
IPC Class 2 Serial Data MIL Outputs
IPC Class 2 Serial Data MIL Outputs and Engine Coolant Level Indicator Input
Handling ESD Sensitive Parts Notice
G203