GM Service Manual Online
For 1990-2009 cars only
Makes
🢒
Buick
🢒
2000
🢒
Regal
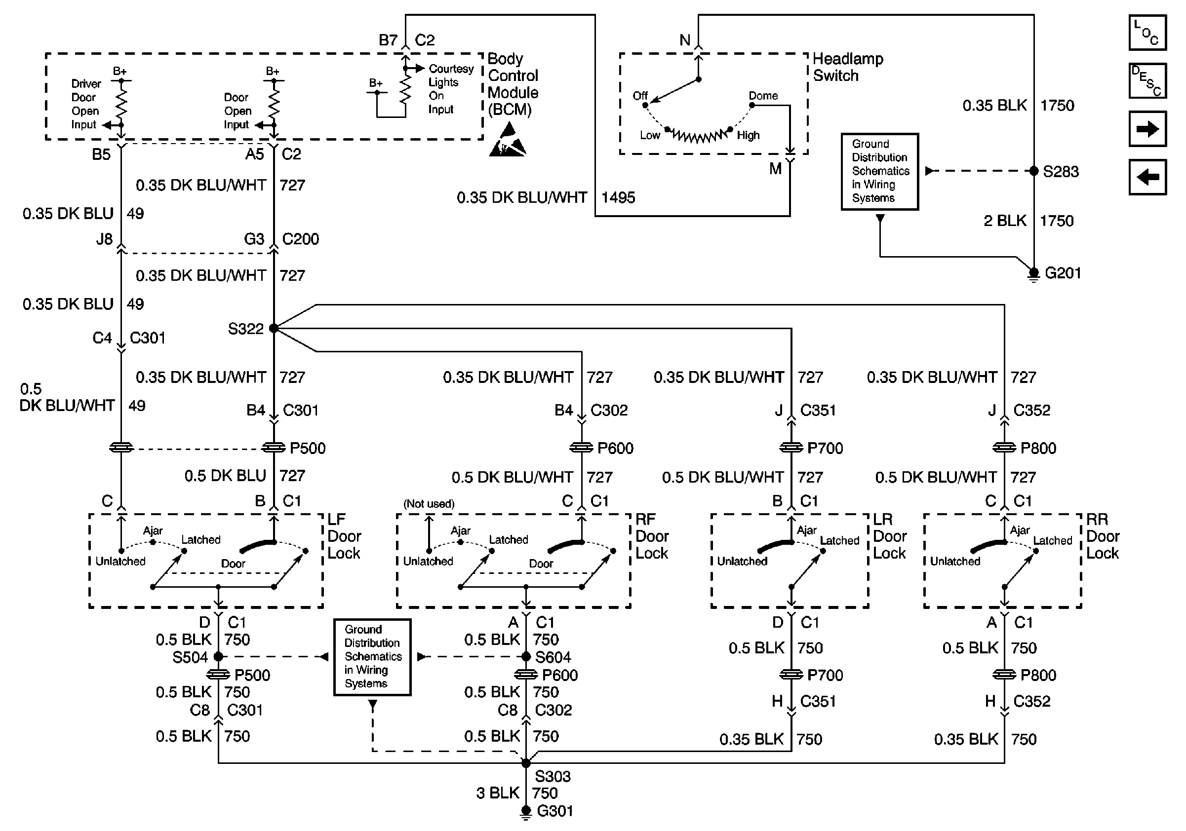
🢒 Door Lock Inputs and Headlamp Switch Input
Door Lock Inputs and Headlamp Switch Input
Door Lock Inputs and Headlamp Switch Input
Handling ESD Sensitive Parts Notice
G301
G201
Body Control Module Components
Body Control System Circuit Description
Turn Signal Inputs
Ignition Key Alarm Switch, Headlamp Switch, Park Brake Indicator Switch, Driver Seat Adjuster Switch and Seat Belt Switch