GM Service Manual Online
For 1990-2009 cars only

Object Number: 614873  Size: MF
Engine Controls Components
MAF Sensor, EVAP Canister Vent/Purge Solenoid Valve and EGR Valve
OBD II Symbol Description Notice
Handling ESD Sensitive Parts Notice

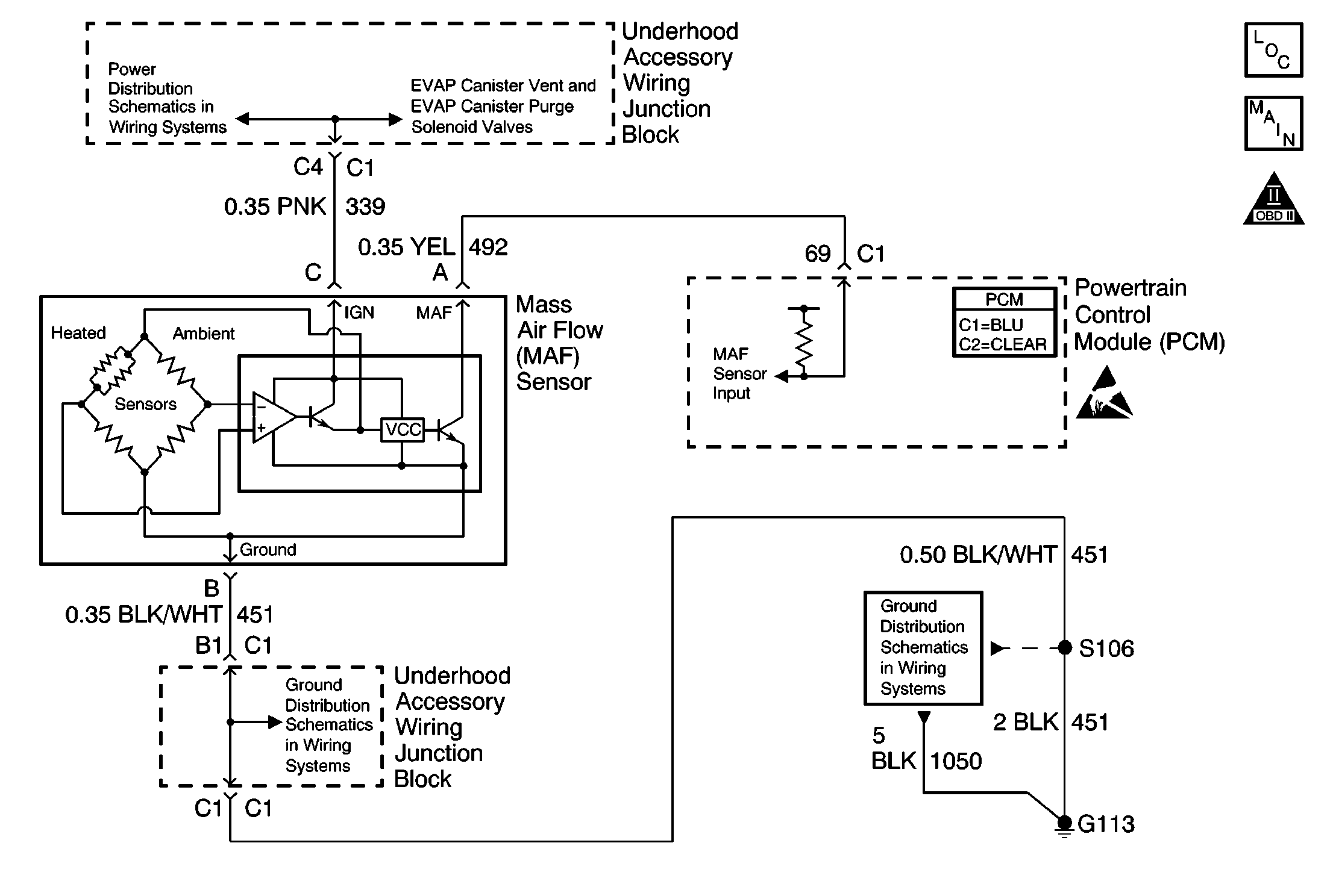
Circuit Description

The mass air flow (MAF) sensor measures the amount of air which passes through it into the engine during a given time. The powertrain control module (PCM) uses the mass air flow information to monitor engine operating conditions for fuel delivery calculations. A large quantity of air entering the engine indicates an acceleration or high load situation, while a small quantity of air indicates deceleration or idle. The MAF sensor produces a frequency signal which can be monitored using a scan tool. The frequency will vary within a range of around 2000 Hertz at idle to about 10,000 Hertz at maximum engine load. If the signal frequency from the MAF sensor is higher than the possible range of a normally operating MAF sensor, DTC P0103 will set.

Conditions for Running the DTC

    • The engine is running.
    • TP angle is less than 50 percent.
    • System voltage is more than 8 volts.

Conditions for Setting the DTC

    • MAF signal frequency is more than 11,500 Hertz.
    • The above condition is present for longer than 0.5 seconds + 100 3X reference periods, 33 crankshaft revolutions.

Action Taken When the DTC Sets

    • The PCM will illuminate the malfunction indicator lamp (MIL) during the second consecutive trip in which the diagnostic test has been run and failed.
    • The PCM will store conditions which were present when the DTC set as Freeze Frame/Failure Records data.

Conditions for Clearing the MIL/DTC

    • The PCM will turn OFF the malfunction indicator lamp (MIL) during the third consecutive trip in which the diagnostic has run and passed.
    • The history DTC will clear after 40 consecutive warm-up cycles have occurred without a malfunction.
    • The DTC can be cleared by using a scan tool.

Diagnostic Aids

Inspect for the following conditions:

Misrouted harness -- Inspect the MAF sensor harness to ensure that it is not routed too close to high voltage wires such as spark plug leads.

Many situations may lead to an intermittent condition. Perform each inspection or test as directed.

Important: :  Remove any debris from the connector surfaces before servicing a component. Inspect the connector gaskets when diagnosing or replacing a component. Ensure that the gaskets are installed correctly. The gaskets prevent contaminate intrusion.

    • Loose terminal connection
       -  Use a corresponding mating terminal to test for proper tension. Refer to Testing for Intermittent Conditions and Poor Connections , and to Connector Repairs in Wiring Systems for diagnosis and repair.
       -  Inspect the harness connectors for backed out terminals, improper mating, broken locks, improperly formed or damaged terminals, and faulty terminal to wire connection. Refer to Testing for Intermittent Conditions and Poor Connections , and to Connector Repairs in Wiring Systems for diagnosis and repair.
    • Damaged harness--Inspect the wiring harness for damage. If the harness inspection does not reveal a problem, observe the display on the scan tool while moving connectors and wiring harnesses related to the sensor. A change in the scan tool display may indicate the location of the fault. Refer to Wiring Repairs in Wiring Systems for diagnosis and repair.
    •  Inspect the powertrain control module (PCM) and the engine grounds for clean and secure connections. Refer to Wiring Repairs in Wiring Systems for diagnosis and repair.

If the condition is determined to be intermittent, reviewing the Snapshot or Freeze Frame/Failure Records may be useful in determining when the DTC or condition was identified.

Test Description

The numbers below refer to the step numbers on the diagnostic table.

  1. This step verifies that the problem is present at idle.

  2. A frequency reading with the MAF sensor connector disconnected indicates an Electromagnetic Interference (EMI) related malfunction or a poor connection.

  3. This vehicle is equipped with a PCM which utilizes an Electrically Erasable Programmable Read Only Memory (EEPROM). When the PCM is being replaced the new PCM must be programmed.

DTC P0103 - MAF Sensor Circuit High Frequency

Step

Action

Values

Yes

No

1

Did you perform the Powertrain On Board Diagnostic (OBD) System Check?

--

Go to Step 2

Go to Powertrain On Board Diagnostic (OBD) System Check

2

  1. Start the engine.
  2. With a scan tool, observe the MAF Frequency.

Does the frequency measure more than the specified value?

Vin 1- 11,500 Hz

Vin K - 10,500 Hz

Go to Step 4

Go to Step 3

3

  1. Turn ON the ignition, with the engine OFF.
  2. With a scan tool, observe and record the Failure Records data.
  3. Operate the vehicle within Failure Records conditions.

Does the DTC reset?

--

Go to Step 4

Go to Diagnostic Aids

4

  1. Turn OFF the ignition.
  2. Disconnect the MAF sensor.
  3. Start the engine.
  4. With a scan tool, observe the MAF Frequency.

Does the frequency measure at the specified value?

0 Hz

Go to Step 5

Go to Step 7

5

Inspect for a poor connection at the MAF sensor. Refer to Testing for Intermittent Conditions and Poor Connections and Connector Repairs in Wiring Systems.

Did you find and correct the condition?

--

Go to Step 10

Go to Step 6

6

Replace the MAF sensor. Refer to Mass Airflow Sensor Replacement .

Is the action complete?

--

Go to Step 10

--

7

Inspect the MAF sensor harness for incorrect routing:

  1. Inspect near the secondary ignition wires or coils.
  2. Inspect near the other high voltage components, solenoids, relays, motors. If a problem is found, repair as necessary.

Did you find and correct the condition?

--

Go to Step 10

Go to Step 8

8

Inspect for poor connections at the PCM. Refer to Testing for Intermittent Conditions and Poor Connections and Connector Repairs in Wiring Systems.

Did you find and correct the condition?

--

Go to Step 10

Go to Step 9

9

Important:: The replacement PCM must be programmed.

Replace the PCM. Refer to Powertrain Control Module Replacement/Programming .

Is the action complete?

--

Go to Step 10

--

10

  1. Use a scan tool to clear the DTCs.
  2. Operate the vehicle within the Conditions for Running the DTC as specified in the supporting text.

Does the DTC reset?

--

Go to Step 2

System OK